授权公布号:CN213281273U
一种新型的超声波喇叭的装配结构
有效
申请
2020-04-27
申请公布
1970-01-01
授权
2021-05-28
预估到期
2030-04-27
| 申请号 | CN202020663178.5 |
| 申请日 | 2020-04-27 |
| 授权公布号 | CN213281273U |
| 授权公告日 | 2021-05-28 |
| 分类号 | A01M29/18 |
| 分类 | 农业;林业;畜牧业;狩猎;诱捕;捕鱼; |
| 申请人名称 | 上海智觅智能科技有限公司 |
| 申请人地址 | 上海市虹口区霍山路170号3幢10楼375室 |
专利法律状态
2021-05-28
授权
状态信息
授权
摘要
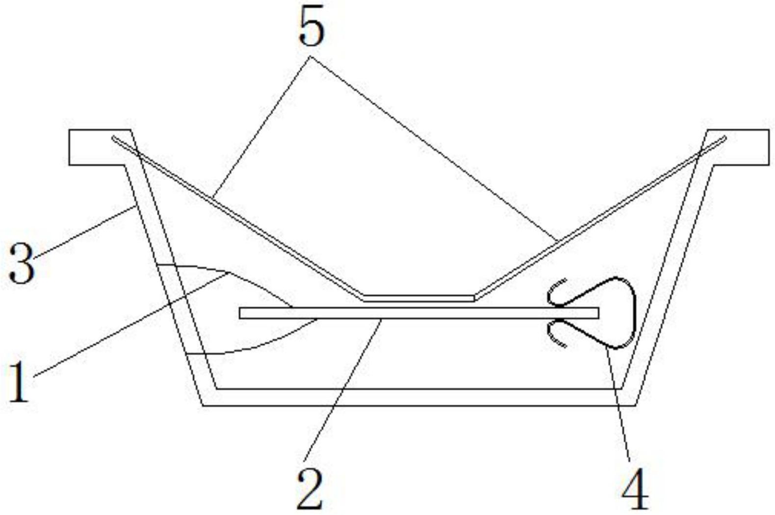
本实用新型公开了一种新型的超声波喇叭的装配结构,包括连接导线、压电陶瓷蜂鸣片、外壳和纸盆,所述外壳的中间下方位置通过连接导线与压电陶瓷蜂鸣片相连接,且压电陶瓷蜂鸣片的外侧设置有金属夹子。该新型的超声波喇叭的装配结构通过在压电陶瓷蜂鸣片的超声振子上增加金属夹子,通过金属夹子可以带走超声振子上的非主振频率的机械振动,让人耳所能听到的噪音消除,从而高效率的输出所需要频率的超声波,让输出的超声频谱纯净,既可以使得驱鼠效果好也使得整个装置的面积不变,设计非常合理。


