授权公布号:CN212702640U
一种实现喷头转动功能的结构
有效
申请
2019-12-26
申请公布
1970-01-01
授权
2021-03-16
预估到期
2029-12-26
| 申请号 | CN201922385090.1 |
| 申请日 | 2019-12-26 |
| 授权公布号 | CN212702640U |
| 授权公告日 | 2021-03-16 |
| 分类号 | B05B15/68 |
| 分类 | 一般喷射或雾化;对表面涂覆液体或其他流体的一般方法〔2〕; |
| 申请人名称 | 上海智觅智能科技有限公司 |
| 申请人地址 | 上海市虹口区霍山路170号3幢10楼375室 |
专利法律状态
2021-03-16
授权
状态信息
授权
摘要
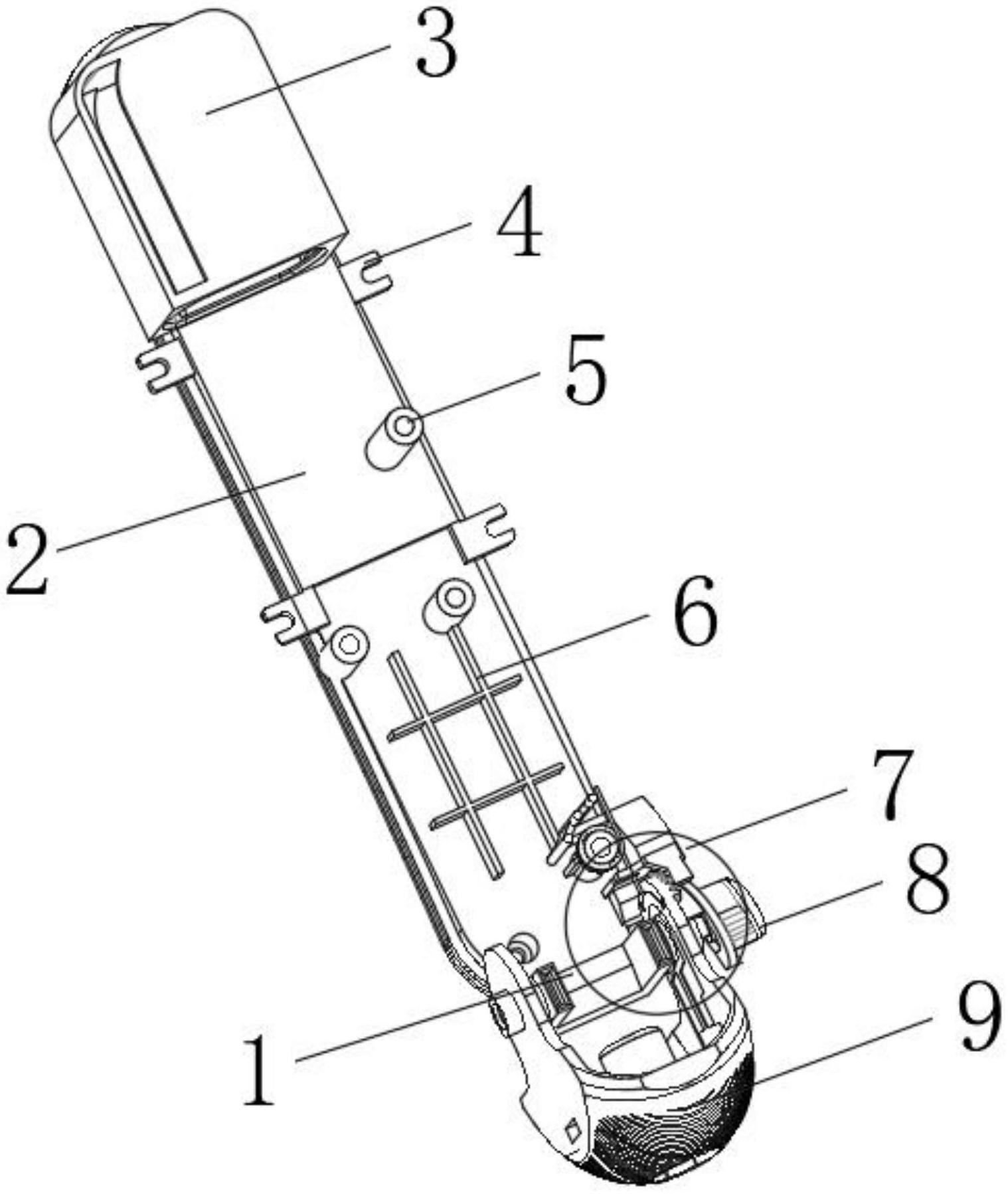
本实用新型公开了一种实现喷头转动功能的结构,包括圆柱型钢轴、支架、齿盘限位装置、按键、旋盖、第一齿盘和第二齿盘,所述支架上转动安装有圆柱型钢轴,所述旋盖通过圆柱型钢轴铰接在支架上,且旋盖和支架过盈接触处设有齿盘限位装置,所述齿盘限位装置还包括有第一齿盘和第二齿盘,所述第一齿盘安装在圆柱型钢轴表面,所述第二齿盘安装在支架上,且第一齿盘和第二齿盘采用同心轴设计,在不施加外力的情况下,第一齿盘和第二齿盘相互啮合,能够实现旋盖与支架不发生相对转动。本实用新型在进行使用的时候,可以根据实际需要通过按键的下按,实现对旋盖角度调节的目的,可以根据实际需要进行具体角度调节的目的。


