授权公布号:CN220323262U
一体式甲醛检测仪
有效
申请
2023-07-27
申请公布
1970-01-01
授权
2024-01-09
预估到期
2033-07-27
| 申请号 | CN202321994116.2 |
| 申请日 | 2023-07-27 |
| 授权公布号 | CN220323262U |
| 授权公告日 | 2024-01-09 |
| 分类号 | G01N33/00;G01N1/34;F16F15/08 |
| 分类 | 测量;测试; |
| 申请人名称 | 上海智觅智能科技有限公司 |
| 申请人地址 | 上海市虹口区霍山路170号3幢10楼375室 |
专利法律状态
2024-01-09
授权
状态信息
授权
摘要
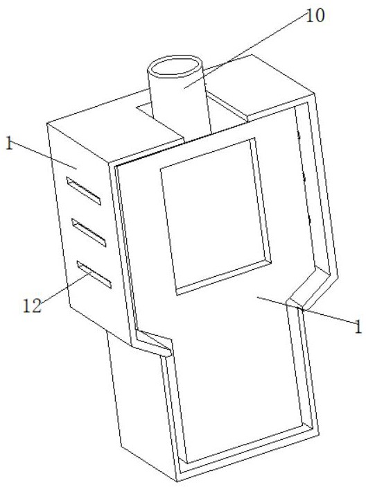
本实用新型公开了一体式甲醛检测仪,其包括甲醛检测仪本体:所述甲醛检测仪本体的顶部集成有进气管,且所述甲醛检测仪本体上套设有防护壳,所述防护壳的内壁上固定连接有缓冲橡胶垫,所述甲醛检测仪本体的侧壁上固定连接有两对定位槽,所述防护壳上穿过有两对螺栓,所述定位槽内壁上开设有与螺栓相匹配的螺纹槽,所述防护壳的后侧壁上开设有按压孔,所述甲醛检测仪本体的顶部固定连接有定位环,所述防护壳的顶部开设有矩形槽,所述定位环穿过矩形槽,且所述定位环上套设有密封管,所述密封管的内壁上固定连接有过滤网,通过上述结构,可对甲醛检测仪本体进行防护,且具有过滤机构。


