授权公布号:CN208652809U
一种空气加湿装置
有效
申请
2018-08-06
申请公布
1970-01-01
授权
2019-03-26
预估到期
2028-08-06
| 申请号 | CN201821255742.9 |
| 申请日 | 2018-08-06 |
| 授权公布号 | CN208652809U |
| 授权公告日 | 2019-03-26 |
| 分类号 | F24F6/08;F24F13/00;F24F13/06 |
| 分类 | 供热;炉灶;通风; |
| 申请人名称 | 北京爱空气科技有限公司 |
| 申请人地址 | 北京市朝阳区清河营东路2号院2号楼9层928 |
专利法律状态
2019-03-26
授权
状态信息
授权
摘要
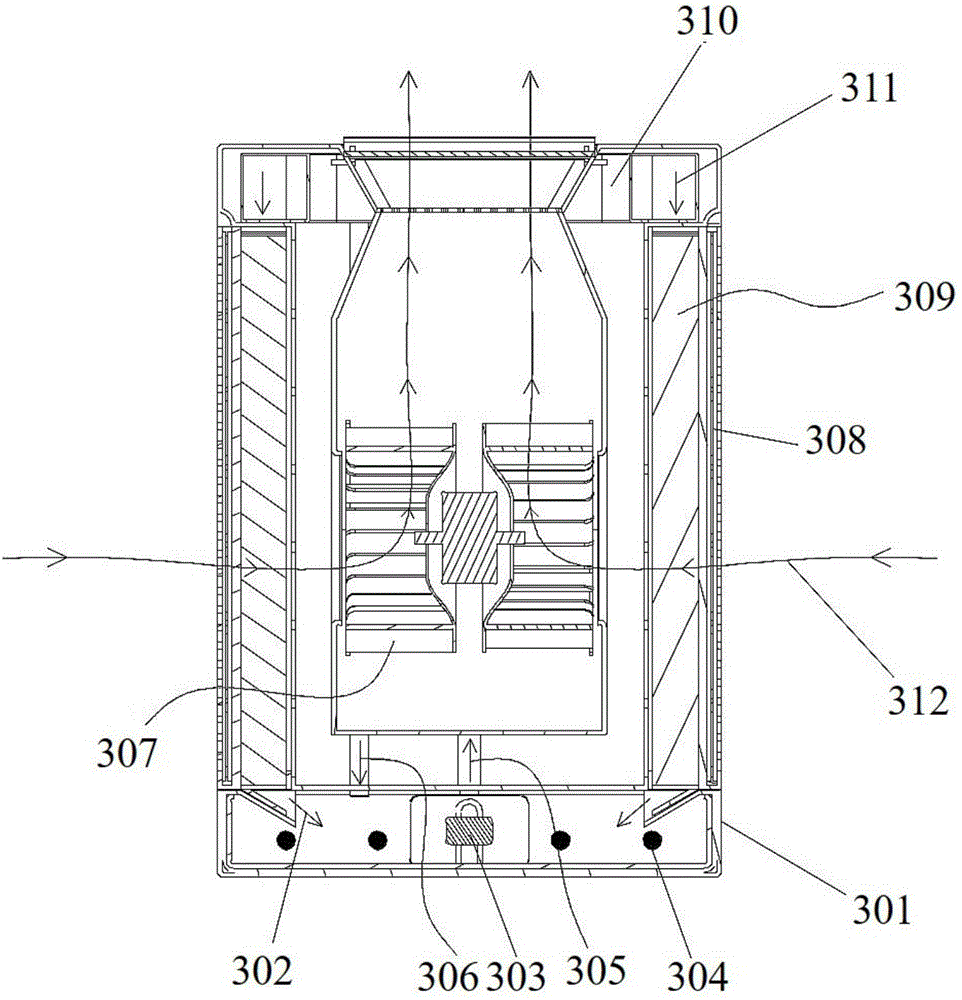
本公开实施例公开了一种空气加湿装置,所述空气加湿装置为立方体形状,所述空气加湿装置包括:两个进风口、两个水膜、双向风轮、顶部储水箱、底部储水箱、出风口,所述两个进风口设置于所述立方体的相对的两个侧面;所述两个水膜分别设置于所述两个进风口的后方;所述双向风轮的轴向垂直于所述进风口的两个侧面;所述顶部储水箱设置于所述立方体的上侧面,所述底部储水箱设置于所述立方体的下侧面;所述出风口设置于所述立方体的上侧面。


