授权公布号:CN216189706U
一种小卷复卷纸机加装升级自动换卷装置
有效
申请
2021-11-05
申请公布
1970-01-01
授权
2022-04-05
预估到期
2031-11-05
| 申请号 | CN202122706332.X |
| 申请日 | 2021-11-05 |
| 授权公布号 | CN216189706U |
| 授权公告日 | 2022-04-05 |
| 分类号 | B65H19/30;B65H18/08;B08B15/04 |
| 分类 | 输送;包装;贮存;搬运薄的或细丝状材料; |
| 申请人名称 | 北京爱华中兴纸业有限公司 |
| 申请人地址 | 北京市顺义区赵全营镇稷山营村火寺路赵全营段29号 |
专利法律状态
2022-04-05
授权
状态信息
授权
摘要
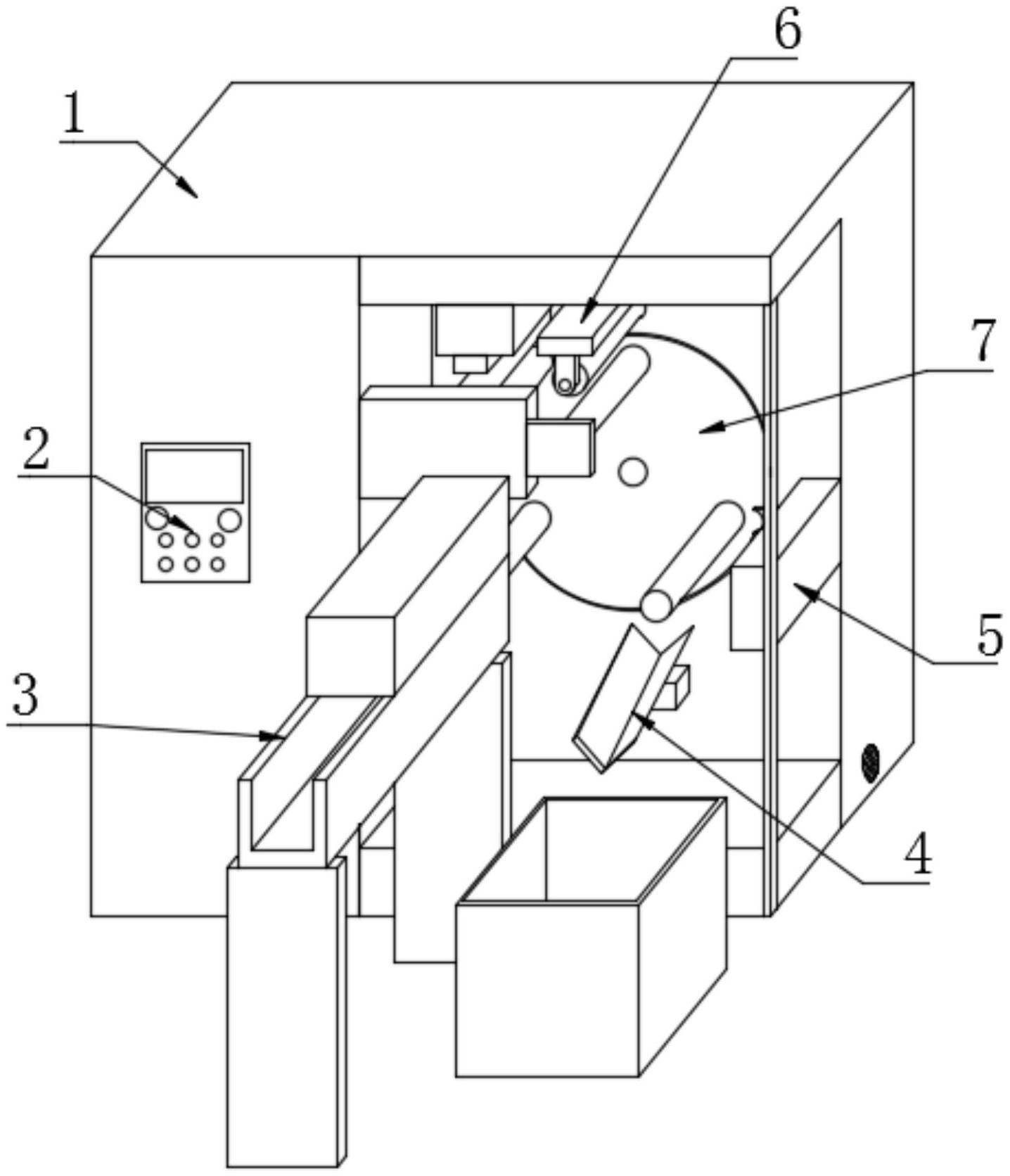
本实用新型公开了一种小卷复卷纸机加装升级自动换卷装置,具体涉及复卷纸机领域,包括复卷纸机,所述复卷纸机的前侧壁体左侧设置有控制面板,所述复卷纸机的前侧设置有送料装置,所述送料装置的右侧设置有下料板,所述复卷纸机的内腔右侧固定连接下料装置,所述复卷纸机的内腔顶部固定连接有下压装置,所述复卷纸机的内腔后侧设置有自动换卷机构。本实用新型通过设置的自动换卷机构,可以通过第一电机带动离心齿轮旋转,从而通过第一传动齿轮带动转动杆旋转,进而带动转动板旋转,使三个收卷轴可以循环转动,进而方便对收卷轴进行自动更换,方便使用,同时不用对第一电机进行停机,提高工作效率。


