授权公布号:CN210257464U
一种餐巾纸生产用同步复合装置
有效
申请
2019-05-16
申请公布
1970-01-01
授权
2020-04-07
预估到期
2029-05-16
| 申请号 | CN201920707973.7 |
| 申请日 | 2019-05-16 |
| 授权公布号 | CN210257464U |
| 授权公告日 | 2020-04-07 |
| 分类号 | B31F1/07;B31F1/00;B26D1/03;B26D7/26 |
| 分类 | 纸品制作;纸的加工; |
| 申请人名称 | 北京爱华中兴纸业有限公司 |
| 申请人地址 | 北京市顺义区赵全营镇稷山营村火寺路赵全营段29号 |
专利法律状态
2020-04-07
授权
状态信息
授权
摘要
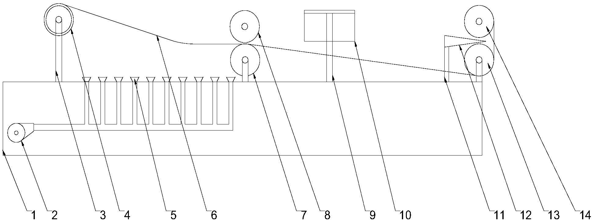
本实用新型公开了一种餐巾纸生产用同步复合装置,包括工作台、分纸机构和折叠机构,所述工作台上设有数个吸气嘴,吸气嘴底部通过气管连接有负压风机,所述工作台前侧设有水平的凹槽,凹槽内设有导轨,导轨上设有滑块,所述工作台右侧设有传送辊,传送辊表面覆盖有摩擦块,传送辊上方对应设置有压花辊,所述工作台左侧设有支撑杆,支撑杆连接有纸筒,纸筒外套有餐巾纸;采用本实用新型的装置,结构简单,可实施性强,将餐巾纸压花、折叠和分切同步复合到一个装置上,并且三个步骤可同时进行,使得餐巾纸经本装置能一次成型,大大提高了生产效率。


