授权公布号:CN211309425U
新型抽纸包装袋
有效
申请
2019-12-02
申请公布
1970-01-01
授权
2020-08-21
预估到期
2029-12-02
| 申请号 | CN201922116763.3 |
| 申请日 | 2019-12-02 |
| 授权公布号 | CN211309425U |
| 授权公告日 | 2020-08-21 |
| 分类号 | B65D33/00;B65D85/07 |
| 分类 | 输送;包装;贮存;搬运薄的或细丝状材料; |
| 申请人名称 | 江门市新会区宝达造纸实业有限公司 |
| 申请人地址 | 广东省江门市新会区大泽镇新园工业开发区 |
专利法律状态
2020-08-21
授权
状态信息
授权
摘要
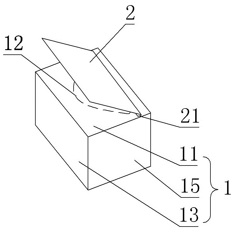
本实用新型提供了一种新型抽纸包装袋,包括袋体和防尘盖,其中的防尘盖通过后固定边与上表面连接,后固定边在易撕线长度方向的一侧,这样可使防尘盖在外力作用下沿后固定边实现上下摆动,而且防尘盖是覆设在易撕线上方的,使用时撕开易撕线抽取纸巾后,防尘盖因自身重力绕固定边向下摆动,可恰好遮盖被抽出的下一张纸巾,从而起到防止抽纸被污染的作用,而且其结构简单,只是在现有包装袋体上表面加装一块防尘盖即可,也不会额外增加抽纸包装的体积。


