授权公布号:CN114808416B
一种毛纺织物抗起毛起球设备
有效
申请
2022-05-18
申请公布
2022-07-29
授权
2023-04-11
预估到期
2042-05-18
| 申请号 | CN202210536650.2 |
| 申请日 | 2022-05-18 |
| 申请公布号 | CN114808416A |
| 申请公布日 | 2022-07-29 |
| 授权公布号 | CN114808416B |
| 授权公告日 | 2023-04-11 |
| 分类号 | D06G1/00 |
| 分类 | 织物等的处理;洗涤;其他类不包括的柔性材料; |
| 申请人名称 | 浙江依蕾毛纺织有限公司 |
| 申请人地址 | 浙江省湖州市德清县钟管镇干山运河桥 |
专利法律状态
2024-01-16
专利权质押合同登记的生效、变更及注销
状态信息
专利权质押合同登记的生效;IPC(主分类):D06G1/00;专利号:ZL2022105366502;登记号:Y2023980074436;登记生效日:20231229;出质人:浙江依蕾毛纺织有限公司;质权人:浙江德清农村商业银行股份有限公司钟管支行;发明名称:一种毛纺织物抗起毛起球设备;申请日:20220518;授权公告日:20230411
2023-04-11
授权
状态信息
授权
2022-08-16
实质审查的生效
状态信息
实质审查的生效;IPC(主分类):D06G1/00;申请日:20220518
2022-07-29
公布
状态信息
公布
摘要
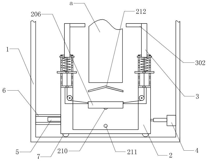
一种毛纺织物抗起毛起球设备,包括除尘箱体、设置在所述除尘箱体内的平移盒体、设置在所述平移盒体两侧上端并以垂直于毛纺织物表面的方向对毛纺织物进行敲打的方式进行除尘的至少两个移动板单元、以及设置在所述除尘箱体内壁上并驱动所述平移盒体移动的气缸。本发明通过设置除尘箱体、平移盒体、移动板单元、气缸的方式,可以直接对毛纺织物的两面同时进行击打除尘,不仅适用于块状的毛纺织物,也适用于对长度较长的毛纺织物进行连续除尘,并且除尘过程不需要翻面,一次即可完成,既节省了人力,又提高了工作效率,具有除尘效率高、效果好的优点。


