授权公布号:CN104354894B
纺织布简易打包机的导线装置
有效
申请
2014-10-31
申请公布
2015-02-18
授权
2017-01-04
预估到期
2034-10-31
| 申请号 | CN201410600242.4 |
| 申请日 | 2014-10-31 |
| 申请公布号 | CN104354894A |
| 申请公布日 | 2015-02-18 |
| 授权公布号 | CN104354894B |
| 授权公告日 | 2017-01-04 |
| 分类号 | B65B13/04 |
| 分类 | 输送;包装;贮存;搬运薄的或细丝状材料; |
| 申请人名称 | 浙江依蕾毛纺织有限公司 |
| 申请人地址 | 浙江省湖州市德清县钟管镇干山运河桥浙江依蕾毛纺织有限公司 |
专利法律状态
2017-01-04
授权
状态信息
授权
2015-03-25
实质审查的生效
状态信息
实质审查的生效IPC(主分类):B65B 13/04申请日:20141031
2015-02-18
公布
状态信息
公开
摘要
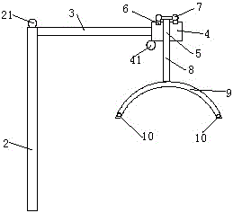
本发明属于纺织用具技术领域,尤其涉及一种纺织布简易打包机的导线装置。本发明公开了纺织布简易打包机的导线装置,纺织布简易打包机的导线装置包括支撑杆,所述的支撑杆的顶端设有水平连杆,所述的水平连杆的一端与支撑杆垂直相连,所述的水平连杆的另一端连有导向板,所述的导向板上开设有贯穿导向板上下面的缝隙,所述的导向板上沿着缝隙的两侧开设有导轨,所述的导轨上设有两组滑轮,所述的两组滑轮通过悬挂板相连,所述的悬挂板穿过缝隙后连有导向件,所述的导向件呈倒丫字形,所述的导向件的端部各设有一导向孔。本发明的有益效果是:能够使得纺织布的打包操作更加的简便,打包操作现场更加的整洁有序。


