授权公布号:CN213596590U
一种和毛仓喷淋装置
有效
申请
2020-09-22
申请公布
1970-01-01
授权
2021-07-02
预估到期
2030-09-22
| 申请号 | CN202022089548.1 |
| 申请日 | 2020-09-22 |
| 授权公布号 | CN213596590U |
| 授权公告日 | 2021-07-02 |
| 分类号 | D06B1/02;D06B23/04;D06B23/14;D06B23/00 |
| 分类 | 织物等的处理;洗涤;其他类不包括的柔性材料; |
| 申请人名称 | 浙江依蕾毛纺织有限公司 |
| 申请人地址 | 浙江省湖州市德清县钟管镇干山运河桥 |
专利法律状态
2021-07-02
授权
状态信息
授权
摘要
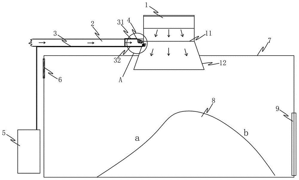
本实用新型公开了一种和毛仓喷淋装置,用于向进入和毛仓内的纤维喷淋和毛油,包括微风机、输送管道、喷淋管道、雾化喷头,输送管道用于输送开松的纤维,输送管道的输出端口垂直进入微风机的风力范围内,输送管道上靠近输出端口的位置设置有多个喷淋口,喷淋口设置有雾化喷头,使得喷淋管道内的和毛油雾化喷淋在开松的纤维上后被输送至微风机的风力范围内,使得微风机的风力能够吹落开松的纤维且抑制开松的纤维上扬。本实用新型通过在开松纤维的输送管道内将和毛油雾化喷淋,能够将和毛油与纤维充分接触,优化喷淋效果,同时通过微风机吹落纤维,扩大纤维的落地范围,纤维堆积范围加大,降低堆积对产品开松效果的影响。


