授权公布号:CN205241936U
桄线拉伸机
有效
申请
2015-12-15
申请公布
1970-01-01
授权
2016-05-18
预估到期
2025-12-15
| 申请号 | CN201521047471.4 |
| 申请日 | 2015-12-15 |
| 授权公布号 | CN205241936U |
| 授权公告日 | 2016-05-18 |
| 分类号 | D02J1/22 |
| 分类 | 纱线;纱线或绳索的机械整理;整经或络经; |
| 申请人名称 | 临沂市奥博纺织制线有限公司 |
| 申请人地址 | 山东省临沂市兰山区兰山办事处董家朱许村 |
专利法律状态
2016-05-18
授权
状态信息
授权
摘要
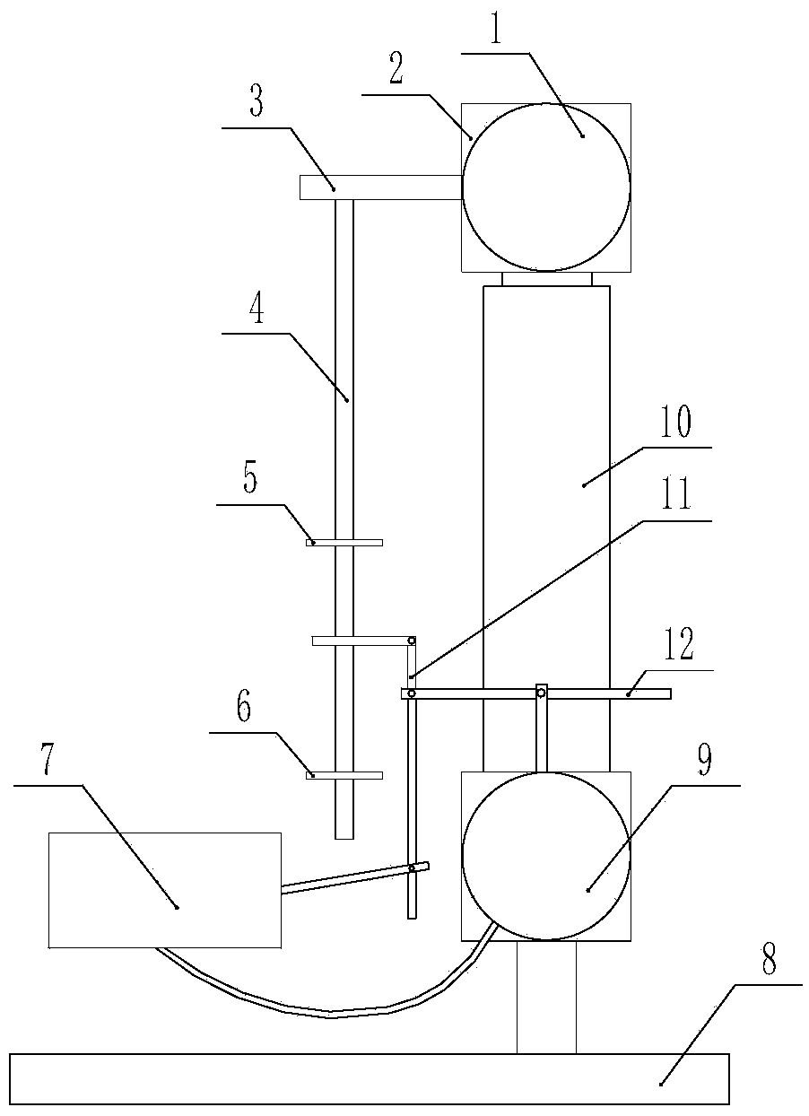
本实用新型公开了一种桄线拉伸机,属于纺织加工设备领域,用于高速缝纫线的加工,其包括液压装置和机架,所述液压装置包括液压泵站、换向阀、液压油缸,所述机架上安装有液压油缸,液压油缸上设有上横梁、下横梁,在上横梁上安装有限位杆,在下横梁上安装有操作连杆。鉴于上述技术方案,本实用新型能够对摇线机完成桄线进行拉伸,而且能够保证拉伸的质量,不会对桄线造成损坏。


