授权公布号:CN215929950U
用于纺织车间的加湿装置
有效
申请
2021-04-30
申请公布
1970-01-01
授权
2022-03-01
预估到期
2031-04-30
| 申请号 | CN202120926387.9 |
| 申请日 | 2021-04-30 |
| 授权公布号 | CN215929950U |
| 授权公告日 | 2022-03-01 |
| 分类号 | F24F6/14;F24F8/40;F24F13/00 |
| 分类 | 供热;炉灶;通风; |
| 申请人名称 | 临沂市奥博纺织制线有限公司 |
| 申请人地址 | 山东省临沂市兰山区兰山街道董家朱许村 |
专利法律状态
2022-03-01
授权
状态信息
授权
摘要
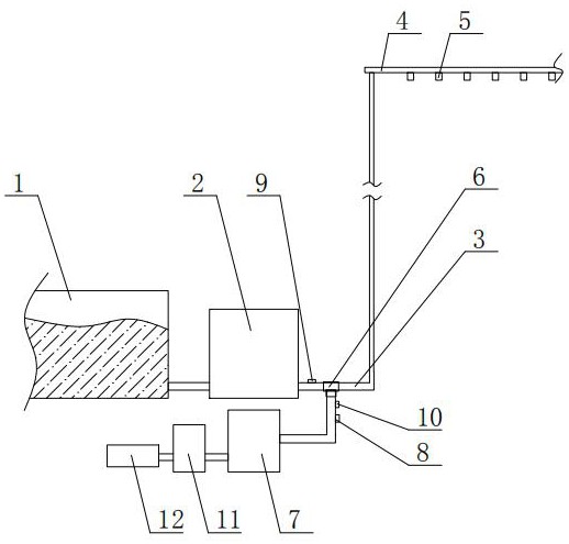
本实用新型公开了一种用于纺织车间的加湿装置,属于纺织设备技术领域。其解决了现有技术中纺织车间的加湿装置上的管路和喷头在长时间工作后容易滋生细菌和纺织车间缺乏一套有效的杀菌消毒装置的缺陷。其主要包括水箱,所述水箱连接加湿器,加湿器通过连接水管连接加湿管路,加湿管路上安装多个加湿喷头,所述连接水管上安装三通管,三通管分别连接加湿器和臭氧发生器,所述臭氧发生器与三通管之间安装电磁阀,加湿器与三通管之间安装流量调节阀。


