授权公布号:CN211971318U
一种纱线生产用液压套皮辊机
有效
申请
2020-03-20
申请公布
1970-01-01
授权
2020-11-20
预估到期
2030-03-20
| 申请号 | CN202020363944.6 |
| 申请日 | 2020-03-20 |
| 授权公布号 | CN211971318U |
| 授权公告日 | 2020-11-20 |
| 分类号 | B65H54/40 |
| 分类 | 输送;包装;贮存;搬运薄的或细丝状材料; |
| 申请人名称 | 河南省长荣线业有限公司 |
| 申请人地址 | 河南省新乡市高新产业开发区关堤乡塔小庄村北头 |
专利法律状态
2020-11-20
授权
状态信息
授权
摘要
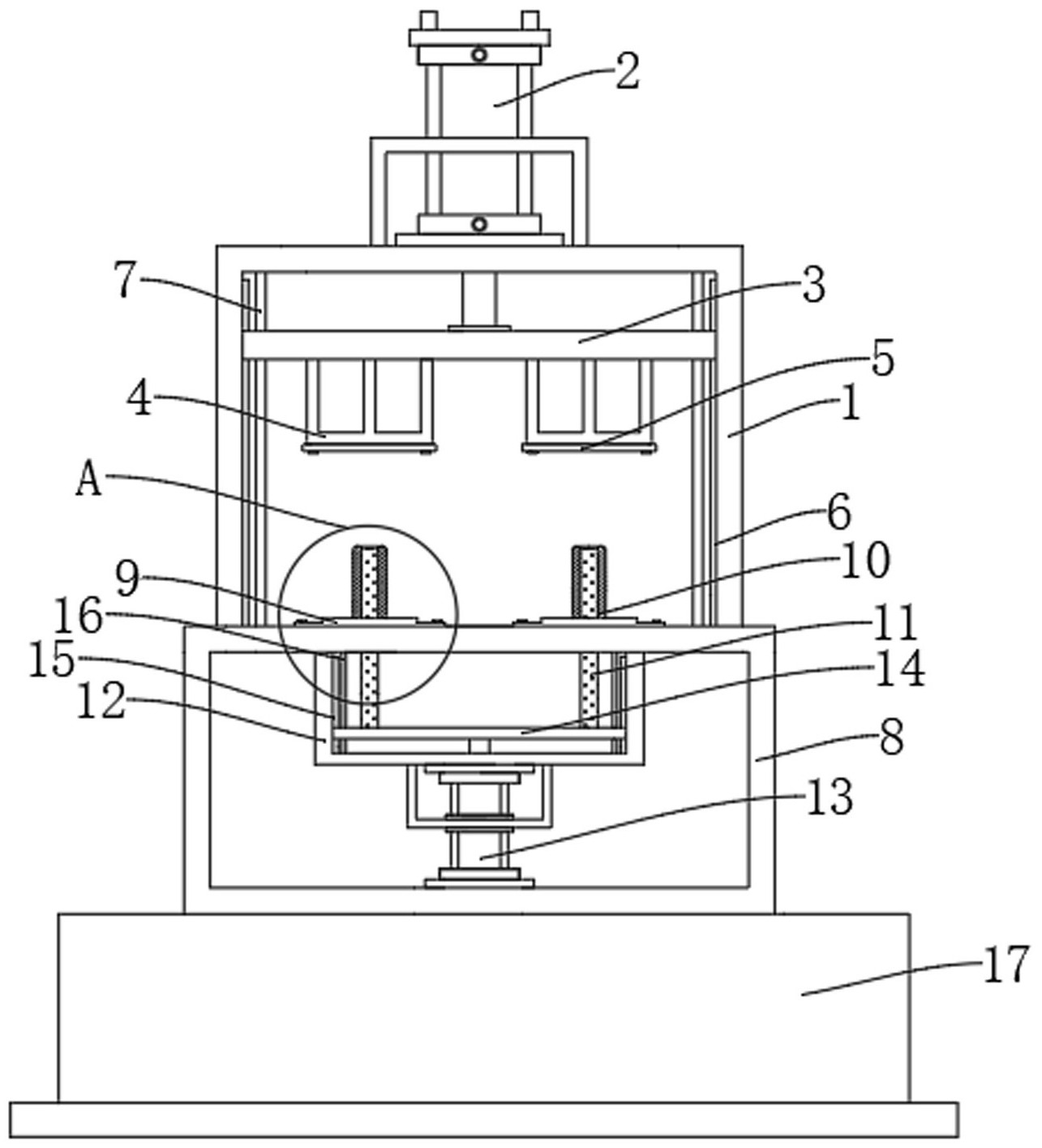
本实用新型公开了一种纱线生产用液压套皮辊机,涉及套皮辊机技术领域,为解决现有的液压套皮辊机在套皮辊的加工过程中,容易发生位置的偏移,易对胶管内壁造成损坏,且加工效率较低的问题。所述第一桁架上端的中间安装有第一液压缸,所述第一液压缸的下端安装有第一导向板,所述第一导向板下端的两侧均安装有压块,所述压块的下端安装有固定盘,所述第一桁架的内侧安装有第一滑轨,所述第一导向板的两端与第一滑轨均滑动连接,所述第一滑轨的内侧安装有第一导向杆,且第一导向杆贯穿第一导向板,且第一导向板与第一导向杆滑动连接,所述第一桁架的下端安装有工作台,所述工作台的上端安装有限位座,所述限位座的上端设置有限位轴。


