授权公布号:CN112161002B
一种固定端球笼式等速万向节
有效
申请
2020-09-22
申请公布
2021-01-01
授权
2024-03-22
预估到期
2040-09-22
| 申请号 | CN202010999164.5 |
| 申请日 | 2020-09-22 |
| 申请公布号 | CN112161002A |
| 申请公布日 | 2021-01-01 |
| 授权公布号 | CN112161002B |
| 授权公告日 | 2024-03-22 |
| 分类号 | F16D3/223;F16D3/84 |
| 分类 | 工程元件或部件;为产生和保持机器或设备的有效运行的一般措施;一般绝热; |
| 申请人名称 | 万向集团公司 |
| 申请人地址 | 浙江省杭州市萧山区万向路 |
专利法律状态
2024-03-22
授权
状态信息
授权
2023-04-07
著录事项变更
状态信息
著录事项变更;IPC(主分类):F16D3/223;变更事项:申请人;变更前:万向钱潮股份有限公司;变更后:万向钱潮股份公司;变更事项:地址;变更前:311215 浙江省杭州市萧山经济技术开发区万向路1号;变更后:311215 浙江省杭州市萧山区万向路;变更事项:申请人;变更前:万向集团公司;变更后:万向集团公司
2021-01-19
实质审查的生效
状态信息
实质审查的生效;IPC(主分类):F16D3/223;申请日:20200922
2021-01-01
公布
状态信息
公布
摘要
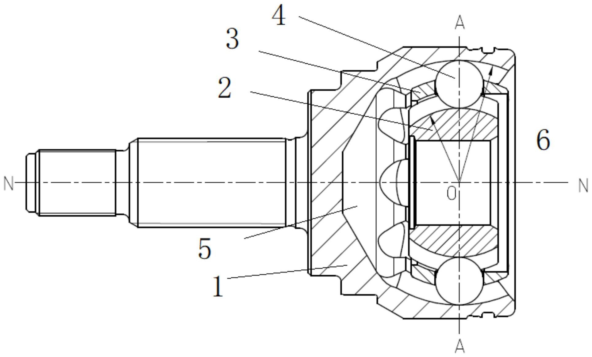
本发明公开了一种固定端球笼式等速万向节,主要包括钟形壳、星形套等,钟形壳内球面形成有沿轴向延伸的多个球道,星形套外球面形成有与钟形壳的球道成对的多个球道,钟形壳的球道与星形套的球道之间夹设多个钢球并传递转矩,钢球通过保持架进行保持,保持架具有与钟形壳的内球面和星形套的外球面配合的外球面和内球面,钟形壳、星形套的球道分为A球道和B球道两种。本发明在钟形壳和星形套上周向配置成对的反向交叉球道,可以抵消作用于保持架的轴向力,从而减小保持架与钟形壳和星形套球面的摩擦磨损,减小了发热量,提高了传递效率;同时非交叉球道与交叉球道相邻,增大了相邻球道间的小端距离,提高了强度。


