授权公布号:CN215766382U
一种锂电池烘干散热装置
有效
申请
2021-06-18
申请公布
1970-01-01
授权
2022-02-08
预估到期
2031-06-18
| 申请号 | CN202121358056.6 |
| 申请日 | 2021-06-18 |
| 授权公布号 | CN215766382U |
| 授权公告日 | 2022-02-08 |
| 分类号 | F26B25/00 |
| 分类 | 干燥; |
| 申请人名称 | 武汉力兴(火炬)电源有限公司 |
| 申请人地址 | 湖北省武汉市东湖开发区关东科技工业园7块地 |
专利法律状态
2022-02-08
授权
状态信息
授权
摘要
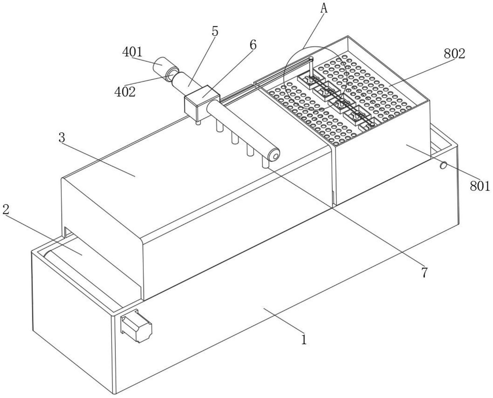
本实用新型公开了一种锂电池烘干散热装置,包括机体,所述机体上设置有传送带,所述机体上安装有烘干箱,所述烘干箱上通过加速机构安装有输送管,所述输送管上设置有操作箱,所述输送管上设置有多个连接管,各个连接管与烘干箱的内部相通设置,所述机体上设置有用于锂电池烘干处理后散热的散热机构,所述操作箱上设置有用于散热机构驱动的驱动机构;所述散热机构包括固定在机体上的散热箱,所述散热箱上安装有安装板。本实用新型在锂电池烘干处理的过程中,可以形成锂电池烘干装置上的散热机构,能够快速的降低烘干完成后锂电池表面的温度,便于烘干操作完成后的锂电池能够直接进行后续的加工操作,提高了锂电池生产的效率。


