授权公布号:CN215320857U
一种碳芯生产装置
有效
申请
2020-09-16
申请公布
1970-01-01
授权
2021-12-28
预估到期
2030-09-16
| 申请号 | CN202022034469.0 |
| 申请日 | 2020-09-16 |
| 授权公布号 | CN215320857U |
| 授权公告日 | 2021-12-28 |
| 分类号 | B30B9/28;B30B15/30;B30B15/00;B30B15/02;B02C19/22 |
| 分类 | 压力机; |
| 申请人名称 | 武汉力兴(火炬)电源有限公司 |
| 申请人地址 | 湖北省武汉市东湖开发区关东工业园7号 |
专利法律状态
2021-12-28
授权
状态信息
授权
摘要
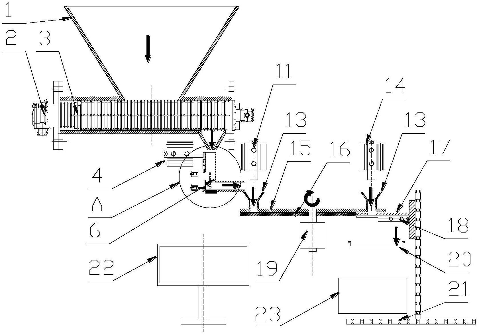
本实用新型公开了一种碳芯生产装置,其特征在于,包括沿进料方向依次设置的进料系统、称量系统、成型系统、落料系统,所述进料系统包括进料斗和螺杆电机、螺杆,所述螺杆与螺杆电机传动连接,所述螺杆位于进料斗内水平轴向转动;所述称量系统设置于进料斗下方,包括用于控制进料斗出口启闭的进料开关气缸以及与进料斗出口对接的传感器料仓,所述传感器料仓内设有重量传感器,所述传感器料仓临近进料系统的一侧还设有物料推出气缸以及可对重量传感器进行校准的校准部件。本实用新型的校准部件可定时自动放入校准砝码对重量传感器进行校准,充分提高本装置精度和准确性,本装置可自动停工校准,无需手动操作,高效便捷。


