授权公布号:CN212271121U
一种便于拆装的冲水阀拉绳装置
有效
申请
2020-05-23
申请公布
1970-01-01
授权
2021-01-01
预估到期
2030-05-23
| 申请号 | CN202020880670.8 |
| 申请日 | 2020-05-23 |
| 授权公布号 | CN212271121U |
| 授权公告日 | 2021-01-01 |
| 分类号 | E03D5/09 |
| 分类 | 给水;排水; |
| 申请人名称 | 广东梦佳智能厨卫股份有限公司 |
| 申请人地址 | 广东省潮州市中山(潮州)产业转移工业园径南分园凤泉路东侧JN06-15地块B座厂房 |
专利法律状态
2021-09-17
专利权人的姓名或者名称、地址的变更
状态信息
专利权人的姓名或者名称、地址的变更;IPC(主分类):E03D5/09;变更事项:专利权人;变更前:广东梦佳智能厨卫股份有限公司;变更后:广东梦佳智能厨卫股份有限公司;变更事项:地址;变更前:521000 广东省潮州市中山(潮州)产业转移工业园径南分园凤泉路东侧JN06-21地块B座厂房;变更后:521000 广东省潮州市中山(潮州)产业转移工业园径南分园凤泉路东侧JN06-15地块B座厂房
2021-08-24
专利权人的姓名或者名称、地址的变更
状态信息
专利权人的姓名或者名称、地址的变更;IPC(主分类):E03D5/09;变更事项:专利权人;变更前:广东梦佳智能厨卫股份有限公司;变更后:广东梦佳智能厨卫股份有限公司;变更事项:地址;变更前:521000 广东省潮州市潮安区古巷镇枫二村大陇埔;变更后:521000 广东省潮州市中山(潮州)产业转移工业园径南分园凤泉路东侧JN06-21地块B座厂房
2021-01-01
授权
状态信息
授权
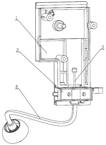
摘要
本实用新型涉及阀门控制的技术领域,更具体地,涉及一种便于拆装的冲水阀拉绳装置。一种便于拆装的冲水阀拉绳装置,包括安装壳体、固定块、拉绳;其中,所述固定块与安装壳体连接,所述拉绳的一端与固定块连接,另一端伸出安装壳体外。本实用新型冲水阀拉绳通过固定块卡接固定在外壳上,这样的分体设计更加人性化,安装也更加方便快捷,大大提高了安装效率。另外,在马桶的高频使用和氧化腐蚀的下,拉绳不容易磨损,不容易造成冲水阀拉绳的磨损断裂,延长了其使用寿命。


