授权公布号:CN217729124U
一种强韧耐用弧形桥梁加工用模具
有效
申请
2022-05-05
申请公布
1970-01-01
授权
2022-11-04
预估到期
2032-05-05
| 申请号 | CN202221048651.4 |
| 申请日 | 2022-05-05 |
| 授权公布号 | CN217729124U |
| 授权公告日 | 2022-11-04 |
| 分类号 | B28B7/26;B28B7/22 |
| 分类 | 加工水泥、黏土或石料; |
| 申请人名称 | 浙江可信竹木有限公司 |
| 申请人地址 | 浙江省丽水市庆元县屏都综合新区金山大道5号 |
专利法律状态
2022-11-04
授权
状态信息
授权
摘要
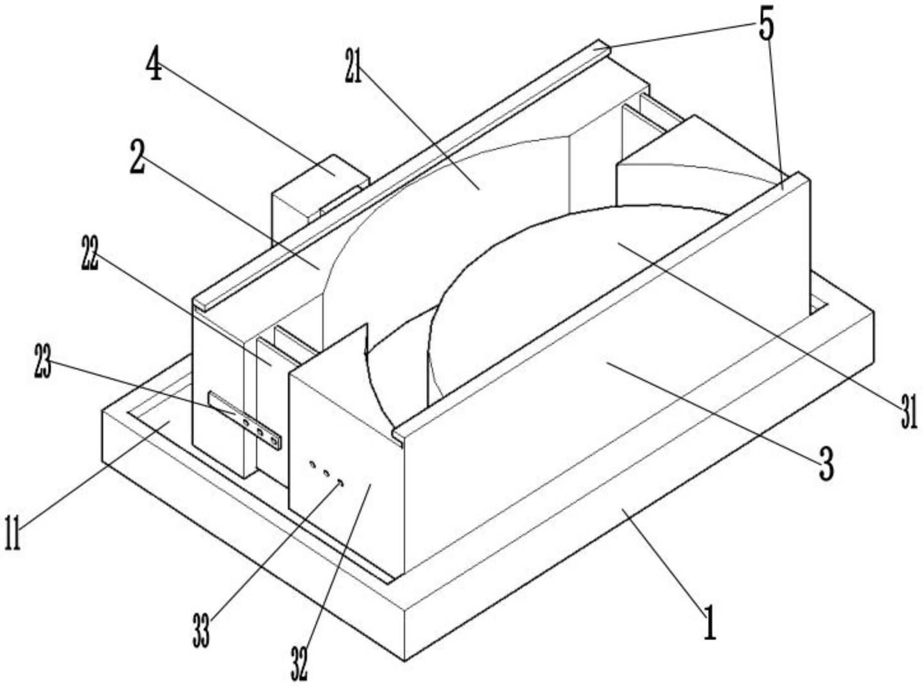
本实用新型提供一种强韧耐用弧形桥梁加工用模具,包括:底座、上模、下模、动力装置、安装架,底座的顶部开设有加工槽,所述加工槽内设有上模、下模,所述上模、下模相对设置,所述上模位于左侧并与加工槽呈朝向下模直线滑动连接,所述上模的左侧设有动力装置,所述上模的两外侧面均设有固定条,所述固定条上开有螺纹孔,所述上模朝向下模的中部侧面为弧形段,本实用新型解决的技术问题是现有弧形桥梁加工用模具安装过程比较繁琐,导致安装时间比较长,降低了操作人员的工作效率。


