授权公布号:CN218581100U
一种智能灰浆涂布装置
有效
申请
2022-10-17
申请公布
1970-01-01
授权
2023-03-07
预估到期
2032-10-17
| 申请号 | CN202222731314.1 |
| 申请日 | 2022-10-17 |
| 授权公布号 | CN218581100U |
| 授权公告日 | 2023-03-07 |
| 分类号 | E04F21/02 |
| 分类 | 建筑物; |
| 申请人名称 | 东易日盛家居装饰集团股份有限公司 |
| 申请人地址 | 北京市朝阳区酒仙桥北路10号院电子城IT产业园C3B座东易大厦 |
专利法律状态
2023-03-07
授权
状态信息
授权
摘要
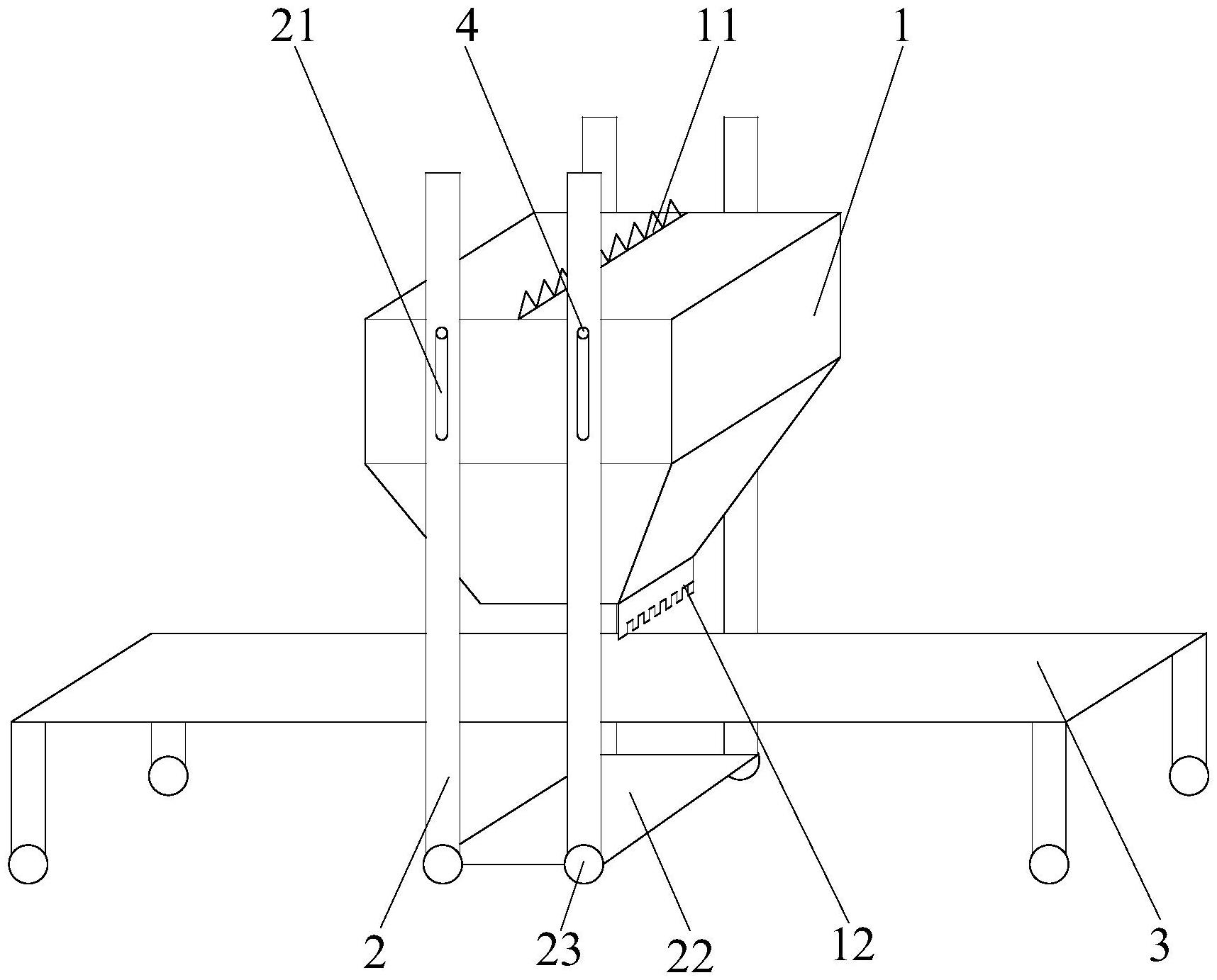
本实用新型涉及室内装潢技术领域,尤其涉及一种智能灰浆涂布装置。本实用新型提供的智能灰浆涂布装置包括支撑架、传送机构、箱体、搅拌机构和刮板;箱体内存储灰浆,箱体内的灰浆可以从出料口排出,出料口处设有刮板,同时在箱体的下侧设有传送机构,待涂布灰浆的瓷砖的背面朝上的设置在传送机构上,瓷砖在传送机构的带动下移动至出料口下方时,灰浆从出料口流到瓷砖的背面,并通过刮板将灰浆刮平,然后传送带继续移动涂布灰浆的瓷砖向后侧移动,下一个瓷砖移动至出料口处,传送机构持续移动实现对于瓷砖的连续涂布灰浆。


