授权公布号:CN217325687U
一种同层三重排水结构
有效
申请
2022-04-08
申请公布
1970-01-01
授权
2022-08-30
预估到期
2032-04-08
| 申请号 | CN202220813027.2 |
| 申请日 | 2022-04-08 |
| 授权公布号 | CN217325687U |
| 授权公告日 | 2022-08-30 |
| 分类号 | E03F1/00;E03F3/02;E04F15/18;E04F15/08 |
| 分类 | 给水;排水; |
| 申请人名称 | 东易日盛家居装饰集团股份有限公司 |
| 申请人地址 | 北京市朝阳区酒仙桥北路10号院电子城IT产业园C3B座东易大厦 |
专利法律状态
2022-08-30
授权
状态信息
授权
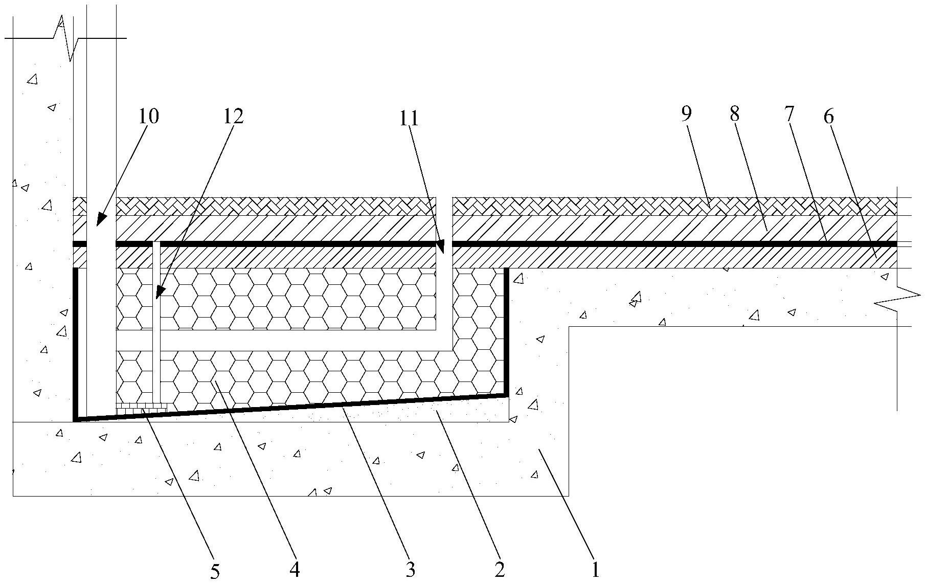
摘要
本实用新型涉及室内装潢技术领域,尤其涉及一种同层三重排水结构。本实用新型提供的同层三重排水结构,包括基层、主排水管、第一室内排水管、第二室内排水管和与所述主排水管连通的集水器,瓷砖面层的水可以通过室内排水管进入到主排水管排出,当水进入到地面以下的沉箱回填层时,会沿着第一找坡层的导向进入到与主排水管连通的集水器中,实现二次排水;当瓷砖面层下侧也有水渗入时,会通过第二室内排水管进入到集水器内,将粘结层内的积水通过集水器的收集排入到主排水管内,能够避免出现粘结层内积水无法排出内部积水导致的粘结层强度和粘性下降的问题,瓷砖面层固定的更加牢靠,减少了发生瓷砖面层出现空鼓、脱落的情况。


