授权公布号:CN216839789U
一种室内浸水环境地面综合防水排水结构
有效
申请
2021-12-28
申请公布
1970-01-01
授权
2022-06-28
预估到期
2031-12-28
| 申请号 | CN202123346896.3 |
| 申请日 | 2021-12-28 |
| 授权公布号 | CN216839789U |
| 授权公告日 | 2022-06-28 |
| 分类号 | E03F5/04;E03C1/122 |
| 分类 | 给水;排水; |
| 申请人名称 | 东易日盛家居装饰集团股份有限公司 |
| 申请人地址 | 北京市朝阳区酒仙桥北路10号院电子城IT产业园C3B座东易大厦 |
专利法律状态
2022-06-28
授权
状态信息
授权
摘要
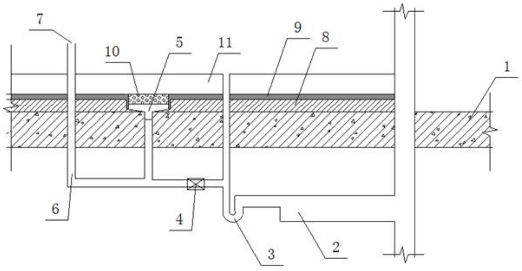
本实用新型涉及地面防水排水的技术领域,特别是涉及一种室内浸水环境地面综合防水排水结构,其包括排水管道,建筑楼板的上方自下向上依次铺设有防水层和面层,排水管道自排水口向下贯穿面层、防水层和建筑楼板并埋设在建筑楼板的下侧,面层的下侧隐蔽安装二次排水器,二次排水器的下端与排水管道相连通,防水层和建筑楼板之间铺设二次排水找平层,二次排水找平层表面坡度指向二次排水器,二次排水器的集水托盘低于二次排水找平层,集水托盘表面、侧壁表面与防水层紧密连接,通过设置二次排水器,配合地面防水构造,根本上解决现有防水层上部积水、外溢等不足,防止发生霉变、返碱、腐烂、渗漏等现象。


