授权公布号:CN218904636U
一种带有粉尘收集功能的油工打磨机
有效
申请
2022-11-28
申请公布
1970-01-01
授权
2023-04-25
预估到期
2032-11-28
| 申请号 | CN202223156279.1 |
| 申请日 | 2022-11-28 |
| 授权公布号 | CN218904636U |
| 授权公告日 | 2023-04-25 |
| 分类号 | B24B7/18;B24B55/06;B24B27/00 |
| 分类 | 磨削;抛光; |
| 申请人名称 | 红蚂蚁装饰股份有限公司 |
| 申请人地址 | 江苏省苏州市姑苏区娄门路246号 |
专利法律状态
2023-04-25
授权
状态信息
授权
摘要
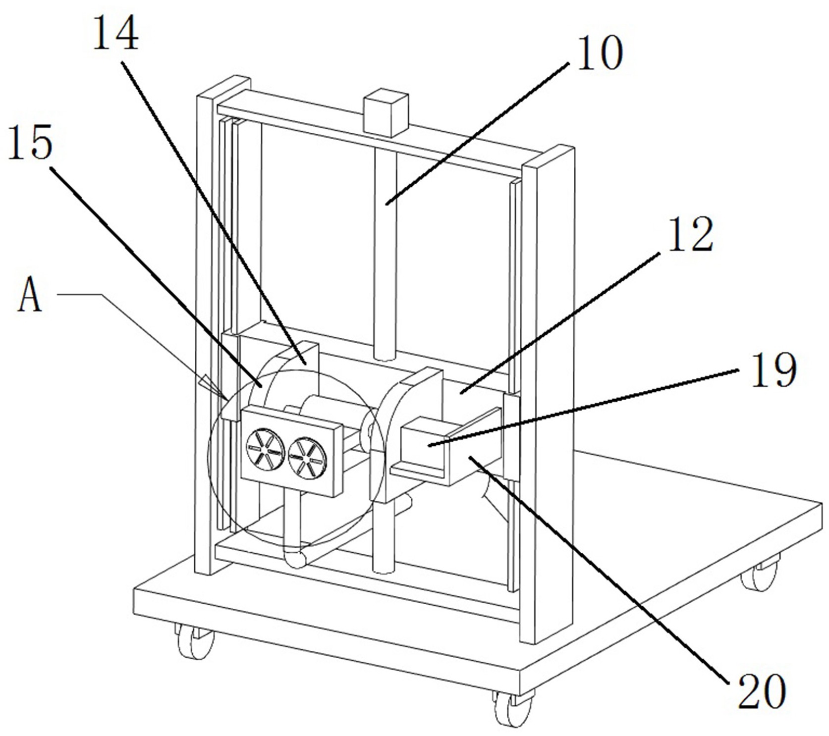
本实用新型涉及一种带有粉尘收集功能的油工打磨机,它包括:底板、间隔固定在所述底板顶部的立板、可升降地设置在所述立板之间的升降板、固定在所述升降板一侧的固定板、转动安装在所述固定板之间的转轴、套设在所述转轴上的套筒、与所述套筒相连的连接板、固定在所述连接板远离转轴一侧的防尘罩、转动安装在所述防尘罩一侧的打磨板、圆周开设在所述打磨板上的吸尘槽、与所述防尘罩相连的吸尘管以及连接在所述吸尘管末端的气泵。本实用新型带有粉尘收集功能的油工打磨机结构简单,提高打磨效率的同时,节省了油工师傅的劳动强度,而且打磨过程产生的粉尘在气泵的作用下完成收集,避免了灰尘的扩散,有利于油工师傅的身体健康。


