授权公布号:CN218541336U
一种厨房烟道隔热结构
有效
申请
2022-11-02
申请公布
1970-01-01
授权
2023-02-28
预估到期
2032-11-02
| 申请号 | CN202222910825.X |
| 申请日 | 2022-11-02 |
| 授权公布号 | CN218541336U |
| 授权公告日 | 2023-02-28 |
| 分类号 | E04F17/02;E04F13/075;E04F13/073 |
| 分类 | 建筑物; |
| 申请人名称 | 红蚂蚁装饰股份有限公司 |
| 申请人地址 | 江苏省苏州市姑苏区娄门路246号 |
专利法律状态
2023-02-28
授权
状态信息
授权
摘要
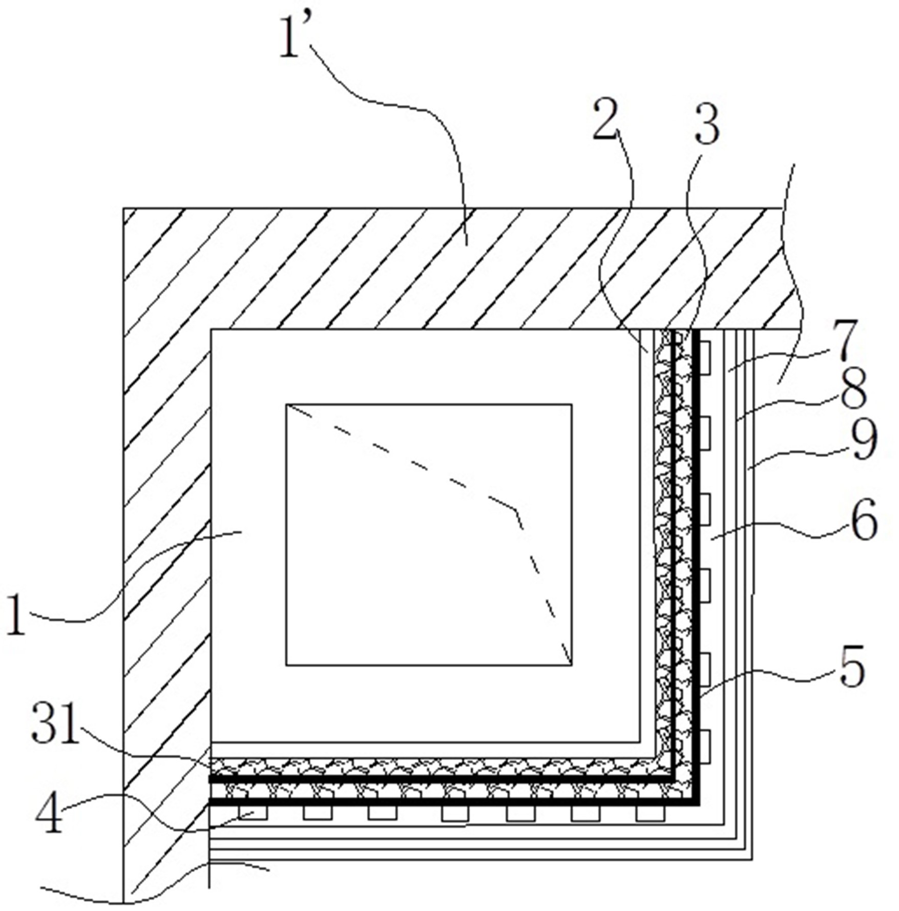
本实用新型涉及一种厨房烟道隔热结构,它包括形成在建筑墙体阴角处的烟道壁、粘贴在所述烟道壁外表面上的高密度橡塑隔热板、形成在所述高密度橡塑隔热板外表面上且内部埋设有多道拉结筋的砌砖层、安装在所述砌砖层外表面上的多个挂片、挂设在多个所述挂片上且紧贴所述砌砖层外表面的钢丝网以及涂覆在所述钢丝网上且覆盖其的砂浆层。具有较高的隔热作用,可靠性好。


