授权公布号:CN207805236U
漆料生产过程中的空气净化设备
有效
申请
2017-12-25
申请公布
1970-01-01
授权
2018-09-04
预估到期
2027-12-25
| 申请号 | CN201721835511.0 |
| 申请日 | 2017-12-25 |
| 授权公布号 | CN207805236U |
| 授权公告日 | 2018-09-04 |
| 分类号 | B01D46/00;B01D46/10;B01D53/02;B08B15/04 |
| 分类 | 一般的物理或化学的方法或装置; |
| 申请人名称 | 郑州双塔涂料有限公司 |
| 申请人地址 | 河南省开封市精细化工产业集聚区纬一路7号 |
专利法律状态
2023-06-23
专利申请权、专利权的转移
状态信息
专利权的转移;IPC(主分类):B01D 46/00;专利号:ZL2017218355110;登记生效日:20230613;变更事项:专利权人;变更前权利人:郑州双塔涂料有限公司;变更后权利人:双塔涂料科技有限公司;变更事项:地址;变更前权利人:450000 河南省郑州市郑州经济技术开发区第三大街169号;变更后权利人:475000 河南省开封市精细化工产业集聚区纬一路7号
2023-06-23
专利申请权、专利权的转移
状态信息
专利权的转移;IPC(主分类):B01D46/00;登记生效日:20230613;变更事项:专利权人;变更前:郑州双塔涂料有限公司;变更后:双塔涂料科技有限公司;变更事项:地址;变更前:450000 河南省郑州市郑州经济技术开发区第三大街169号;变更后:475000 河南省开封市精细化工产业集聚区纬一路7号
2018-09-04
授权
状态信息
授权
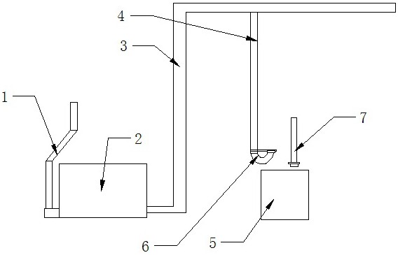
摘要
本实用新型涉及一种漆料生产过程中的空气净化设备。旨在解决现有技术中油漆生产车间除尘难度大、设备成本高的问题。本实用新型包括固定部和滑动安装于所述固定部上的喷涂部,包括设置于厂房外的活性炭过滤装置,所述活性炭过滤装置的出气管道的出气端与大气相连通,所述活性炭过滤装置的进气管道连通厂房内部,所述进气管道包括若干支路进气管,所述支路进气管的位置与厂房内各加工工位的位置相一致,在所述支路进气管的末端设置有吸尘单元。优点在于:设计了一套针对厂房内环境整体除尘除味的过滤装置,降低了油漆生产时的环境污染和对工人的工作伤害,设备整体结构简单,针对性强,成本低。


