授权公布号:CN208959762U
一种涂料生产用混料装置
有效
申请
2018-07-30
申请公布
1970-01-01
授权
2019-06-11
预估到期
2028-07-30
| 申请号 | CN201821215993.4 |
| 申请日 | 2018-07-30 |
| 授权公布号 | CN208959762U |
| 授权公告日 | 2019-06-11 |
| 分类号 | B01F7/24;B01F5/26 |
| 分类 | 一般的物理或化学的方法或装置; |
| 申请人名称 | 郑州双塔涂料有限公司 |
| 申请人地址 | 河南省开封市精细化工产业集聚区纬一路7号 |
专利法律状态
2023-06-23
专利申请权、专利权的转移
状态信息
专利权的转移;IPC(主分类):B01F7/24;专利号:ZL2018212159934;登记生效日:20230613;变更事项:专利权人;变更前权利人:郑州双塔涂料有限公司;变更后权利人:双塔涂料科技有限公司;变更事项:地址;变更前权利人:450000 河南省郑州市经济技术开发区第三大街169号;变更后权利人:475000 河南省开封市精细化工产业集聚区纬一路7号
2023-06-23
专利申请权、专利权的转移
状态信息
专利权的转移;IPC(主分类):B01F7/24;登记生效日:20230613;变更事项:专利权人;变更前:郑州双塔涂料有限公司;变更后:双塔涂料科技有限公司;变更事项:地址;变更前:450000 河南省郑州市经济技术开发区第三大街169号;变更后:475000 河南省开封市精细化工产业集聚区纬一路7号
2019-12-24
专利申请权、专利权的转移
状态信息
专利权的转移;IPC(主分类):B01F7/24;登记生效日:20191205;变更事项:专利权人;变更前:双塔涂料科技有限公司;变更后:郑州双塔涂料有限公司;变更事项:地址;变更前:475000 河南省开封市精细化工产业集聚区管委会院内;变更后:450000 河南省郑州市经济技术开发区第三大街169号
2019-06-11
授权
状态信息
授权
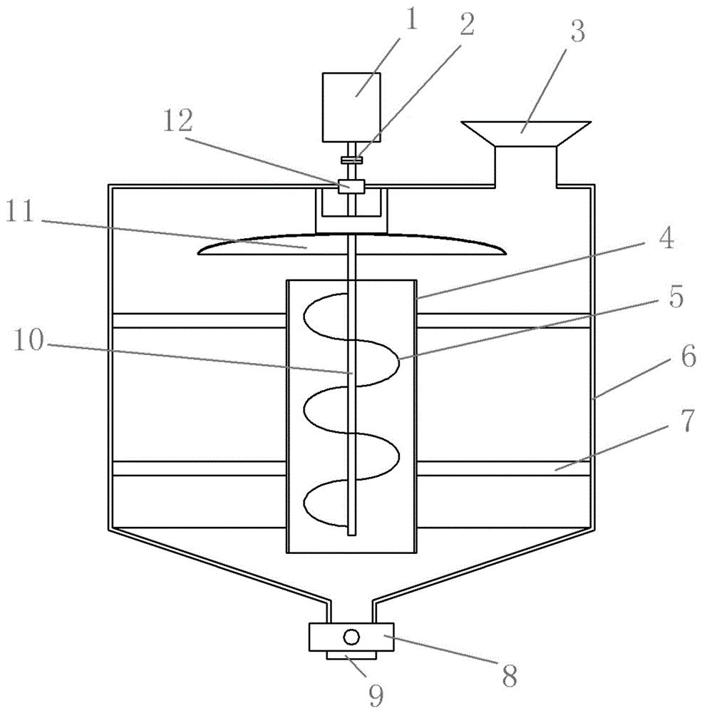
摘要
本实用新型属于涂料混合设备技术领域,具体而言,涉及一种涂料生产用混料装置,包括料筒,料筒的顶部设置有进料口,料筒的底部设置有出料管,料筒内安装有搅拌机构,搅拌机构包括位于料筒中部的内筒,内筒通过支架与料筒的内壁连接,料筒内设置有螺旋搅拌器,螺旋搅拌器的顶部与安装在料筒顶部的电机转轴相连;在内筒上方的料筒顶部内侧安装有导流罩。本实用新型的技术方案通过在料筒内设置内筒,从而形成内筒圆形通道和内筒与料筒之间的环形通道,内筒内安装有螺旋叶片,使得内筒中的涂料能能够沿着内筒向上运动,在内筒顶部设置有导流罩,内筒内的涂料遇到导流罩以后会被导入到内筒与料筒之间的环形通道内,从而使得涂料在混料装置内既有水平方向的搅拌也有竖直方向的搅拌,大大提高了混料的质量和效果。


