授权公布号:CN208049871U
一种油漆生产线用密闭式废气收集处理装置
有效
申请
2018-02-07
申请公布
1970-01-01
授权
2018-11-06
预估到期
2028-02-07
| 申请号 | CN201820215170.5 |
| 申请日 | 2018-02-07 |
| 授权公布号 | CN208049871U |
| 授权公告日 | 2018-11-06 |
| 分类号 | B01F15/00 |
| 分类 | 一般的物理或化学的方法或装置; |
| 申请人名称 | 郑州双塔涂料有限公司 |
| 申请人地址 | 河南省开封市精细化工产业集聚区纬一路7号 |
专利法律状态
2023-06-23
专利申请权、专利权的转移
状态信息
专利权的转移;IPC(主分类):B01F 15/00;专利号:ZL2018202151705;登记生效日:20230613;变更事项:专利权人;变更前权利人:郑州双塔涂料有限公司;变更后权利人:双塔涂料科技有限公司;变更事项:地址;变更前权利人:450016 河南省郑州市经济技术开发区第三大街169号;变更后权利人:475000 河南省开封市精细化工产业集聚区纬一路7号
2023-06-23
专利申请权、专利权的转移
状态信息
专利权的转移;IPC(主分类):B01F15/00;登记生效日:20230613;变更事项:专利权人;变更前:郑州双塔涂料有限公司;变更后:双塔涂料科技有限公司;变更事项:地址;变更前:450016 河南省郑州市经济技术开发区第三大街169号;变更后:475000 河南省开封市精细化工产业集聚区纬一路7号
2018-11-06
授权
状态信息
授权
摘要
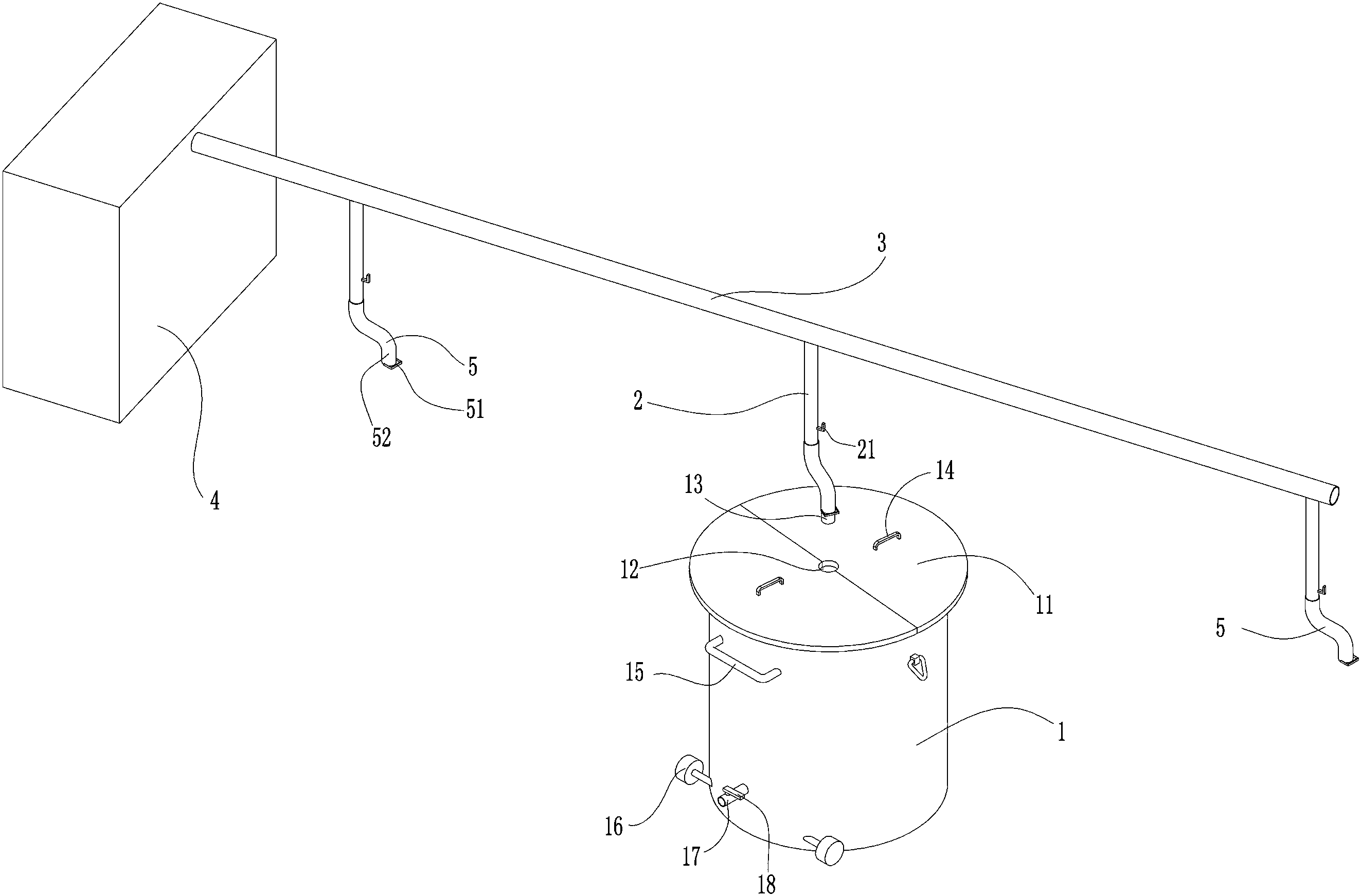
本实用新型公开了油漆生产设备技术领域的一种油漆生产线用密闭式废气收集处理装置,旨在解决油漆搅拌时会向车间发散出挥发性气体的技术问题,包括:净化空调器;以及与所述净化空调器连通的横向主管道,所述横向主管道上连通有至少一条纵向次管道,所述纵向次管道的一端连通有软管;搅拌桶,所述搅拌桶顶部设有两个半圆形的桶盖,所述桶盖圆心处设有一半圆凹槽,以使两桶盖拼合成一完整的圆形桶盖后,圆心位置为一圆孔;所述桶盖上连通有排气管,所述软管的自由端套接于所述排气管上。本实用新型结构简单,操作方便,通过与搅拌桶转动连接的两个半圆形桶盖实现了搅拌桶顶部的密封,通过管道将油漆搅拌时散发出的挥发性气体吸入净化空调器进行处理。


