授权公布号:CN217154457U
一种室内换气装置
有效
申请
2022-04-29
申请公布
1970-01-01
授权
2022-08-09
预估到期
2032-04-29
| 申请号 | CN202221023831.7 |
| 申请日 | 2022-04-29 |
| 授权公布号 | CN217154457U |
| 授权公告日 | 2022-08-09 |
| 分类号 | F24F7/08;F24F7/003;F24F8/10;F24F8/30;F24F11/61;F24F13/02;F24F13/28;H02S40/10 |
| 分类 | 供热;炉灶;通风; |
| 申请人名称 | 中材技术服务(北京)有限公司 |
| 申请人地址 | 北京市朝阳区望京北路16号6层 |
专利法律状态
2022-08-09
授权
状态信息
授权
摘要
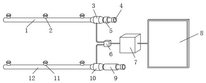
本实用新型公开了一种室内换气装置,包括排风管和进风管;所述排风管上端位置安装有多个排风口,排风管一端位置安装有排风机,所述进风管上端设置有多个进风口,所述进风管上端一侧安装有进风机,所述进风管上端位于进风机一侧位置安装有过滤筒,所述排风管和进风管外侧设置有太阳能电池板,所述太阳能电池板一侧通过螺栓固定安装有安装架,所述太阳能电池板一端通过导线与备用电源进行连接。本实用新型通过排风管将气体进行抽取,在通过进风管将外界空气导入室内,使得空气在室内外进行循环流动,同时在断电时,通过太阳能电池板对进行光电转换,将电能储存在备用电源内部,供给排风机和进风机进行使用,使得排风机和进风机仍然可以继续工作。


