授权公布号:CN212939114U
展示装置
有效
申请
2020-04-22
申请公布
1970-01-01
授权
2021-04-13
预估到期
2030-04-22
| 申请号 | CN202020613350.6 |
| 申请日 | 2020-04-22 |
| 授权公布号 | CN212939114U |
| 授权公告日 | 2021-04-13 |
| 分类号 | A47F7/00;A47F3/00 |
| 分类 | 家具;家庭用的物品或设备;咖啡磨;香料磨;一般吸尘器; |
| 申请人名称 | 伊士曼(中国)投资管理有限公司 |
| 申请人地址 | 上海市浦东新区盛夏路399号3号楼 |
专利法律状态
2021-04-13
授权
状态信息
授权
摘要
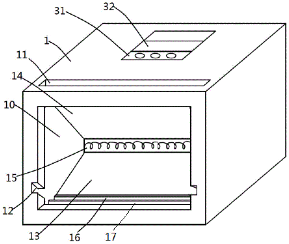
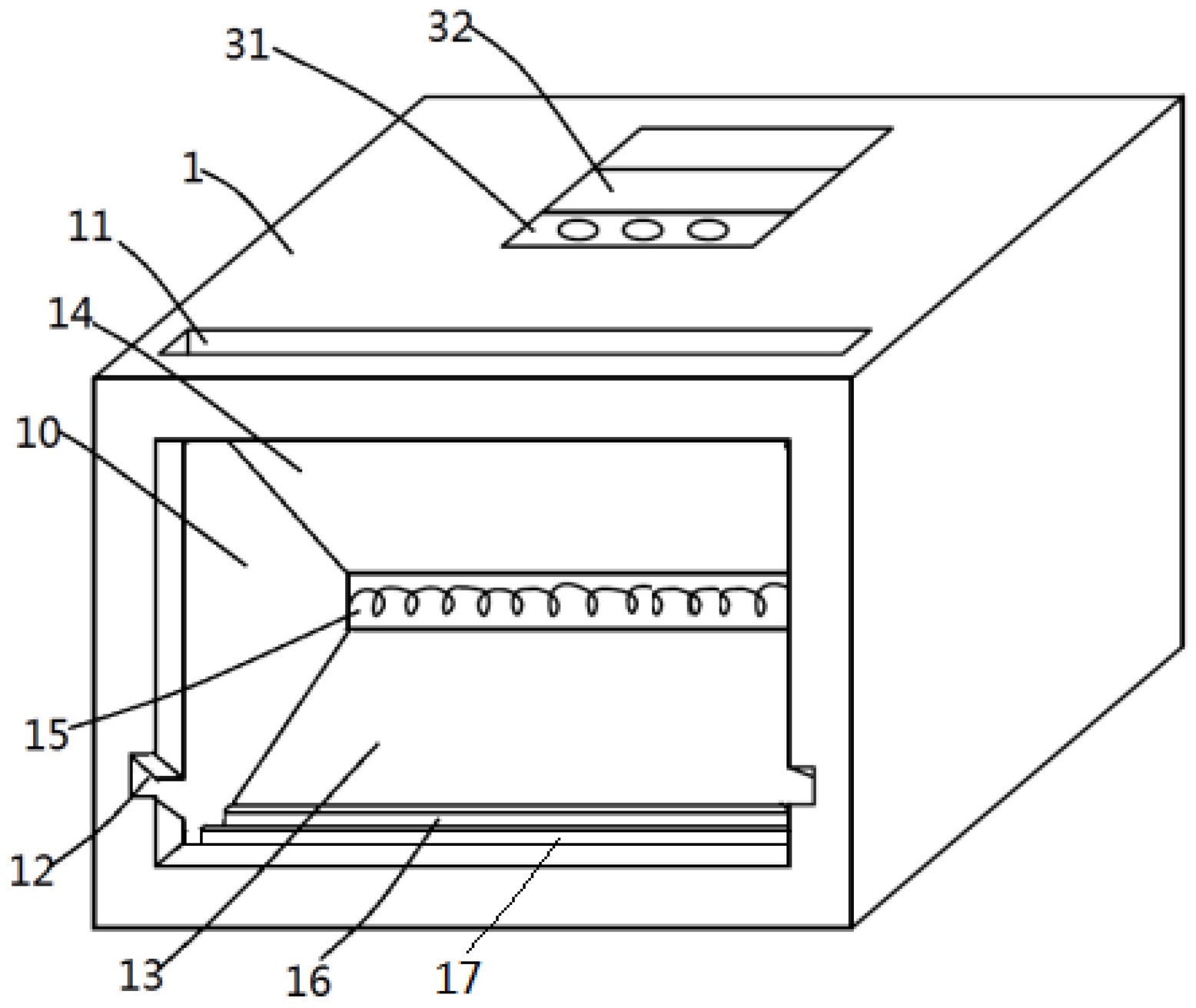
本实用新型提供了一种展示装置,所述展示装置包括:壳体,所述壳体内具有容腔,所述容腔中布置有加热源,所述容腔的前侧具有敞开的开口;所述壳体的前侧处的玻璃,所述玻璃可定位成倾斜于所述壳体的前侧的开口的第一定向和覆盖所述壳体的前侧的开口的第二定向;以及附于所述玻璃的一个面上的至少一种薄膜。根据本实用新型的展示装置可使用户直观地了解薄膜的隔热方式。


