授权公布号:CN216880945U
一种用于自攻螺钉的防屑装置
有效
申请
2021-12-10
申请公布
1970-01-01
授权
2022-07-05
预估到期
2031-12-10
| 申请号 | CN202123097850.2 |
| 申请日 | 2021-12-10 |
| 授权公布号 | CN216880945U |
| 授权公告日 | 2022-07-05 |
| 分类号 | B08B15/02;F16B25/00 |
| 分类 | 清洁; |
| 申请人名称 | 大陆投资(中国)有限公司 |
| 申请人地址 | 上海市杨浦区大连路538号 |
专利法律状态
2022-07-05
授权
状态信息
授权
摘要
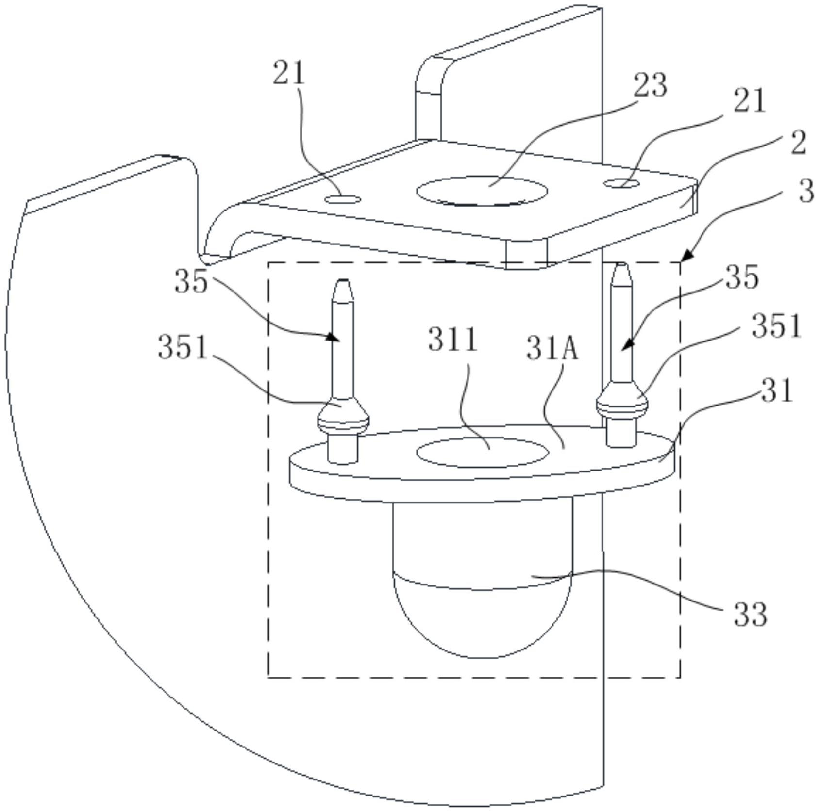
本实用新型公开了一种用于自攻螺钉的防屑装置,包括:支撑板,形成有第一表面和背离第一表面的第二表面,支撑板设有贯穿第一表面和第二表面的开孔;容纳部,设置在支撑板的下方,容纳部具有向上开口的容纳腔,开口的位置与支撑板的开孔相对应;牵引柱,设置在支撑板的第一表面上并从第一表面向上延伸,牵引柱设有第一限位块,第一限位块由弹性材料制成,第一限位块可自下而上穿过第一连接孔,并与安装板的上表面相接触,第一限位块与支撑板夹持安装板。利用牵引柱设有的第一限位块将安装板与防屑装置的支撑板进行固定,使得安装板与防屑装置连接更为牢固,同时还简化了防屑装置与安装板的连接方式,便于容纳部承接自攻螺钉安装时所掉落的金属屑。


