授权公布号:CN218630427U
一种汽车内饰件
有效
申请
2022-12-06
申请公布
1970-01-01
授权
2023-03-14
预估到期
2032-12-06
| 申请号 | CN202223262082.6 |
| 申请日 | 2022-12-06 |
| 授权公布号 | CN218630427U |
| 授权公告日 | 2023-03-14 |
| 分类号 | G02F1/13;G02F1/13357 |
| 分类 | 光学; |
| 申请人名称 | 佛吉亚(中国)投资有限公司 |
| 申请人地址 | 上海市闵行区元江路3438号 |
专利法律状态
2023-03-14
授权
状态信息
授权
摘要
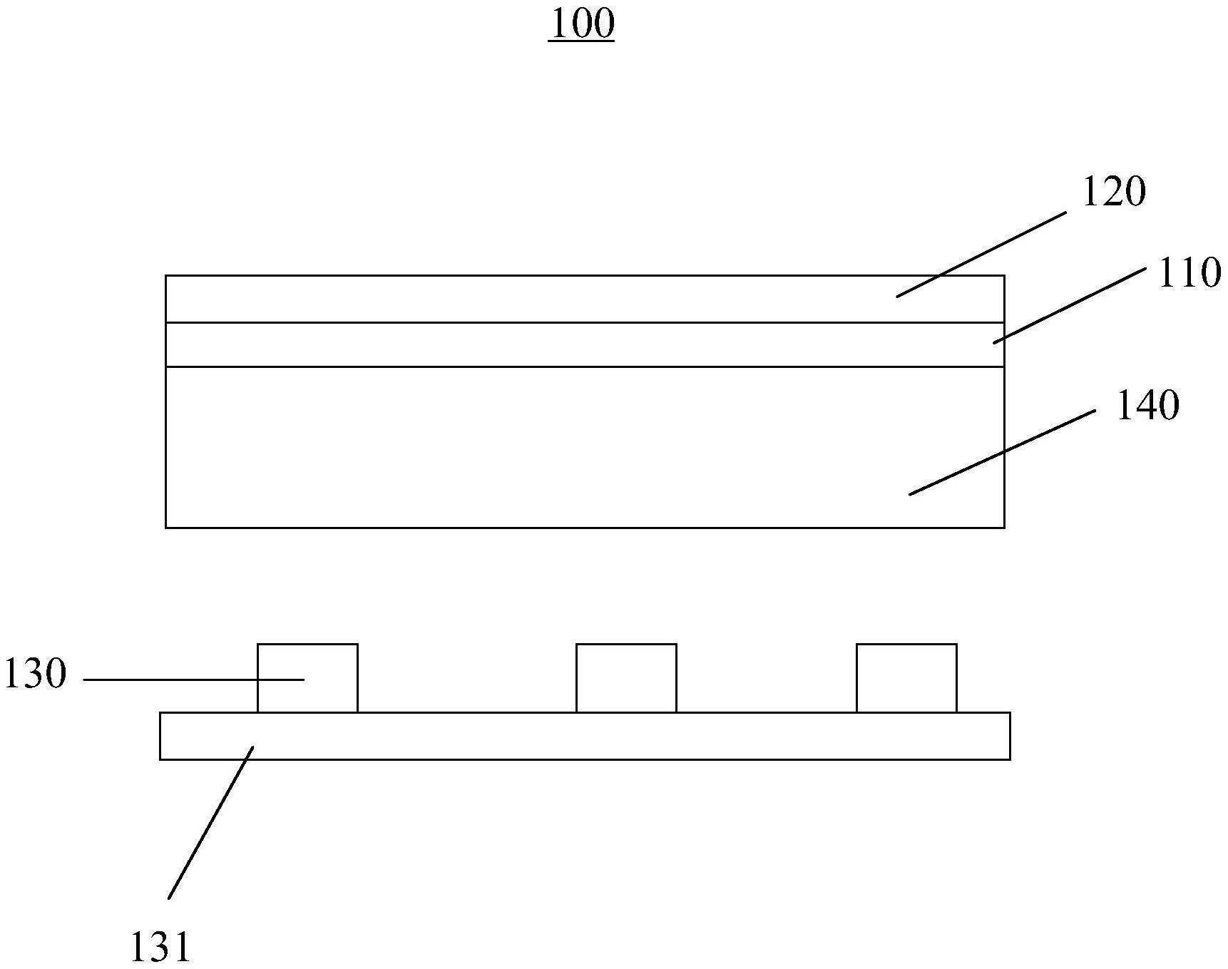
本实用新型公开了一种汽车内饰件。该汽车内饰件包括:液晶层,其内部包括多个支持独立明暗控制的像素点;装饰面板,设置于该液晶层的上方,用于遮蔽该汽车内饰件的非图案显示区域,并露出图案显示区域;以及光源,设置于该液晶层的下方,用于为该液晶层提供背光,以将该液晶层中至少一个发光的像素点构成的像素图案显示到该装饰面板的该图案显示区域。本实用新型提供的汽车内饰件能够显示动态化的像素图案,而非通过传统的LED矩阵来动态化地显示固定的背光图案,不仅能够降低显示成本,而且整个显示内容和显示过程更为灵活多样。


