授权公布号:CN218929276U
座椅头枕、座椅以及交通工具
有效
申请
2022-08-01
申请公布
1970-01-01
授权
2023-04-28
预估到期
2032-08-01
| 申请号 | CN202222010896.4 |
| 申请日 | 2022-08-01 |
| 授权公布号 | CN218929276U |
| 授权公告日 | 2023-04-28 |
| 分类号 | B60N2/879;B60H3/00 |
| 分类 | 一般车辆; |
| 申请人名称 | 佛吉亚(中国)投资有限公司 |
| 申请人地址 | 上海市闵行区元江路3438号 |
专利法律状态
2023-04-28
授权
状态信息
授权
摘要
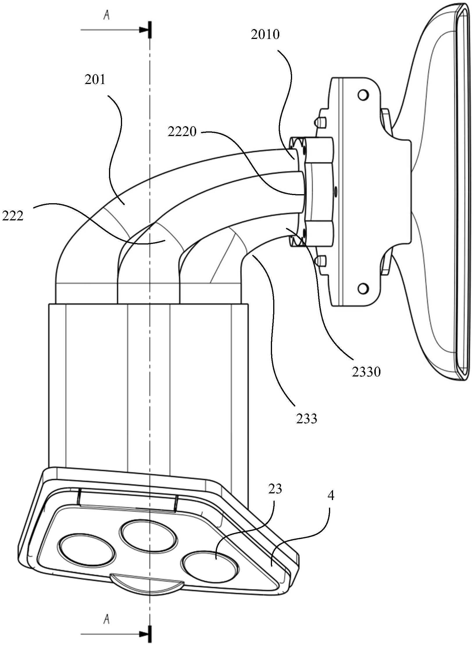
本申请提供了一种座椅头枕、座椅以及交通工具。其中,所述座椅头枕包括头枕本体,限定有容纳空间,所述头枕本体开设有出气口;香氛装置,安装设置于所述容纳空间内部,所述香氛装置具有多个独立的香氛管道组件,每个香氛管道组件包括管道件,以及位于所述管道件内的香料块以及隔离结构,所述管道件被所述隔离结构分隔具有第一段以及第二段,所述香料块被容纳于所述第一段,所述第二段与所述出气口连通;其中,隔离结构具有打开结构或关闭结构;在所述打开结构,所述香料块与所述出气口流体地连通,在所述关闭结构,所述香料块与所述出气口流体地隔离。


