授权公布号:CN220535478U
儿童安全座椅
有效
申请
2023-07-13
申请公布
1970-01-01
授权
2024-02-27
预估到期
2033-07-13
| 申请号 | CN202321836884.5 |
| 申请日 | 2023-07-13 |
| 授权公布号 | CN220535478U |
| 授权公告日 | 2024-02-27 |
| 分类号 | B60N2/28 |
| 分类 | 一般车辆; |
| 申请人名称 | 好孩子儿童用品有限公司 |
| 申请人地址 | 江苏省苏州市昆山市陆家镇陆丰东路28号 |
专利法律状态
2024-02-27
授权
状态信息
授权
摘要
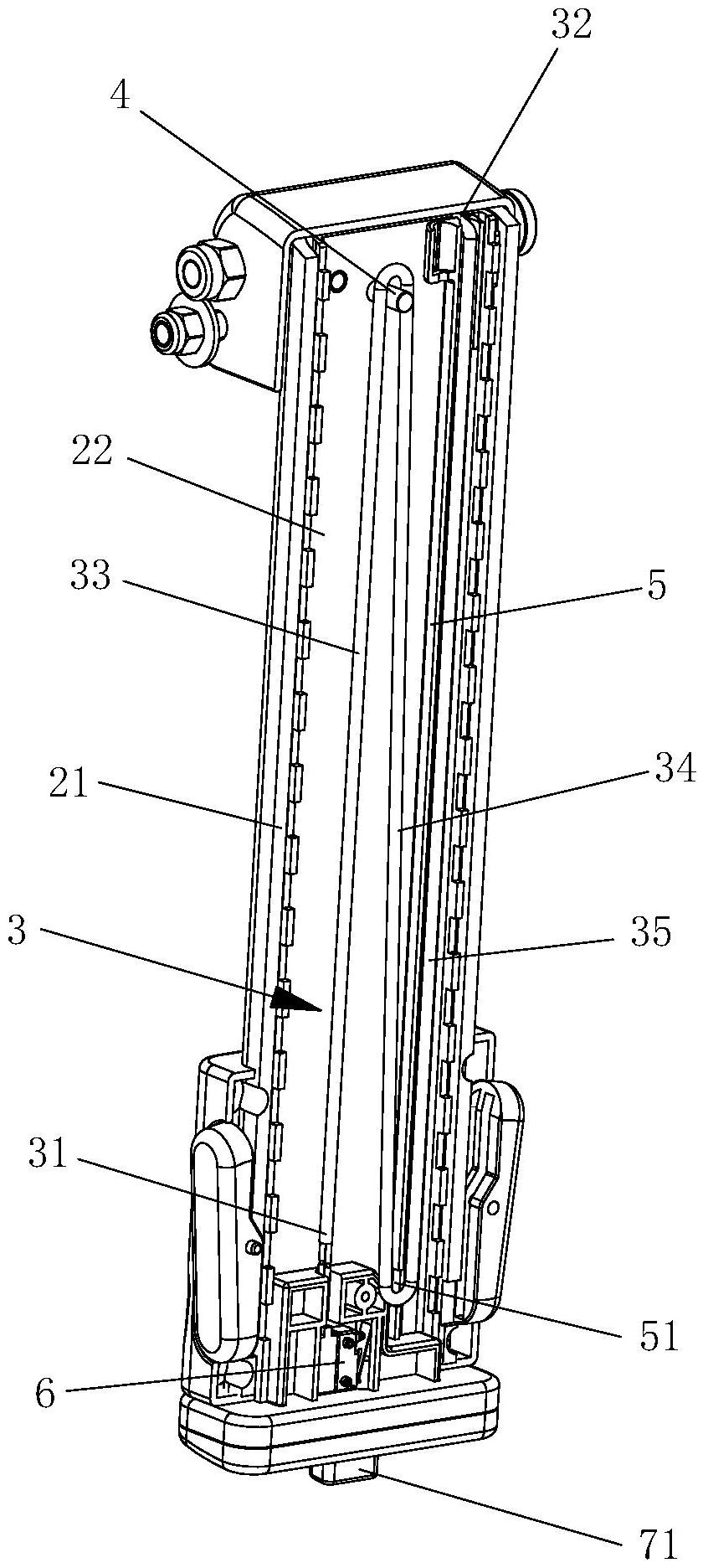
本实用新型公开了一种儿童安全座椅,包括底座和支撑腿,支撑腿包括滑动连接的上支撑腿和下支撑腿,儿童安全座椅还包括用于感应下支撑腿是否与汽车底板抵设的感应系统、设在底座内的控制器和连接导线,感应系统设在下支撑腿的下部,连接导线具有第一端部和第二端部,第一端部固设在感应系统上,第二端部固设在控制器上,儿童安全座椅还包括对连接导线进行导向的绕线机构,连接导线经绕线机构后形成顺序相接的第一段、第二段和第三段,当下支撑腿相对上支撑腿上下滑动时,第一段和第三段在支撑腿内相对固定设置,第二段在支撑腿内活动设置。该儿童安全座椅的连接导线的设置不会影响支撑腿的伸缩动作,支撑腿伸缩过程中也不会使连接导线发生损坏。


