授权公布号:CN115519853B
车窗玻璃及其制备方法、车辆
有效
申请
2022-10-14
申请公布
2022-12-27
授权
2024-01-23
预估到期
2042-10-14
| 申请号 | CN202211256693.1 |
| 申请日 | 2022-10-14 |
| 申请公布号 | CN115519853A |
| 申请公布日 | 2022-12-27 |
| 授权公布号 | CN115519853B |
| 授权公告日 | 2024-01-23 |
| 分类号 | G02B27/01 |
| 分类 | 层状产品; |
| 申请人名称 | 福耀玻璃工业集团股份有限公司 |
| 申请人地址 | 福建省福州市福清市福耀工业区II区 |
专利法律状态
2024-01-23
授权
状态信息
授权
2023-01-13
实质审查的生效
状态信息
实质审查的生效;IPC(主分类):B32B17/00;申请日:20221014
2022-12-27
公布
状态信息
公布
摘要
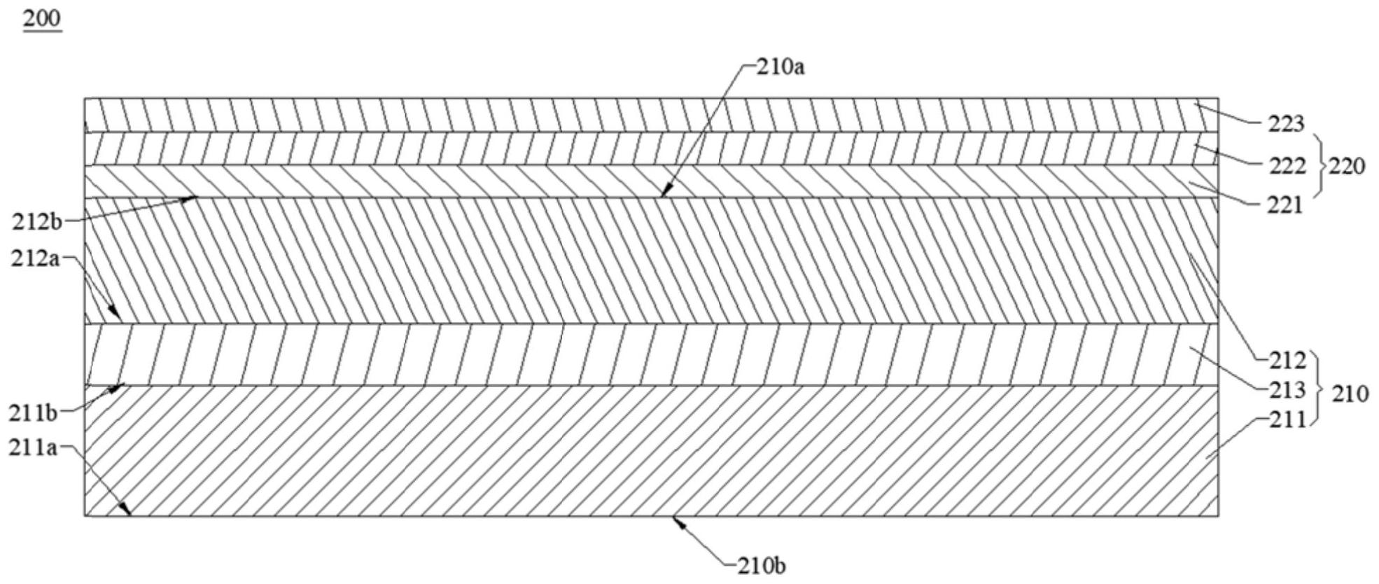
本申请提供一种车窗玻璃及其制备方法、车辆,包括玻璃基板和透明纳米膜,所述玻璃基板包括相对设置的外表面和内表面,所述透明纳米膜设置在所述内表面上,所述透明纳米膜包括标准高折射率层、增强高折射率层和最外低折射率层,在远离所述内表面的方向上,所述标准高折射率层、所述增强高折射率层与所述最外低折射率层依次层叠设置;所述标准高折射率层的折射率在1.61‑2.59之间,所述增强高折射率层的折射率大于或等于2.6,所述最外低折射率层的折射率在1.35‑1.60之间。本申请提供的技术方案能够同时满足对激光雷达信号的透过率要求和抬头显示系统的反射率要求。


