授权公布号:CN115056844B
儿童推车
有效
申请
2022-06-13
申请公布
2022-09-16
授权
2024-02-27
预估到期
2042-06-13
| 申请号 | CN202210660098.8 |
| 申请日 | 2022-06-13 |
| 申请公布号 | CN115056844A |
| 申请公布日 | 2022-09-16 |
| 授权公布号 | CN115056844B |
| 授权公告日 | 2024-02-27 |
| 分类号 | B62B7/08 |
| 分类 | 无轨陆用车辆; |
| 申请人名称 | 好孩子儿童用品有限公司 |
| 申请人地址 | 江苏省苏州市昆山市陆家镇陆丰东路28号 |
专利法律状态
2024-02-27
授权
状态信息
授权
2022-10-04
实质审查的生效
状态信息
实质审查的生效;IPC(主分类):B62B7/08;申请日:20220613
2022-09-16
公布
状态信息
公布
摘要
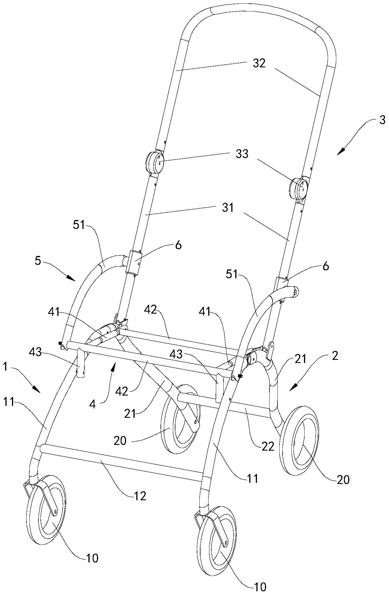
本发明公开了一种儿童推车,其车架包括前支架、后支架、推杆架、座位架及扶手架,其中,后支架的上部与前支架的上部枢轴连接,推杆架的下部枢轴连接在后支架上,座位架的前部枢轴连接在前支架上,座位架的后部与推杆架的下部枢轴连接;扶手架的一端部枢轴连接在座位架的前部或者枢轴连接在前支架上,扶手架的另一端部既能够相对转动又能够沿推杆架的长度延伸方向相对滑动地连接在推杆架上。该儿童推车的车架杆件数量少,展开状态下的车架结构简洁,折叠操作时仅需要驱使推杆架朝向后支架的后侧翻转便可以联动使得车架中的各杆件相对转动而相互收拢在一起,折叠操作简单方便,折叠后的车架结构紧凑,占用空间较小。


