授权公布号:CN115192348B
一种氧舱
有效
申请
2022-07-20
申请公布
2022-10-18
授权
2023-12-15
预估到期
2042-07-20
| 申请号 | CN202210856998.X |
| 申请日 | 2022-07-20 |
| 申请公布号 | CN115192348A |
| 申请公布日 | 2022-10-18 |
| 授权公布号 | CN115192348B |
| 授权公告日 | 2023-12-15 |
| 分类号 | A61G10/02 |
| 分类 | 医学或兽医学;卫生学; |
| 申请人名称 | 江苏鱼跃医疗设备股份有限公司 |
| 申请人地址 | 江苏省镇江市丹阳市云阳工业园 |
专利法律状态
2023-12-15
授权
状态信息
授权
2022-11-04
实质审查的生效
状态信息
实质审查的生效;IPC(主分类):A61G10/02;申请日:20220720
2022-10-18
公布
状态信息
公布
摘要
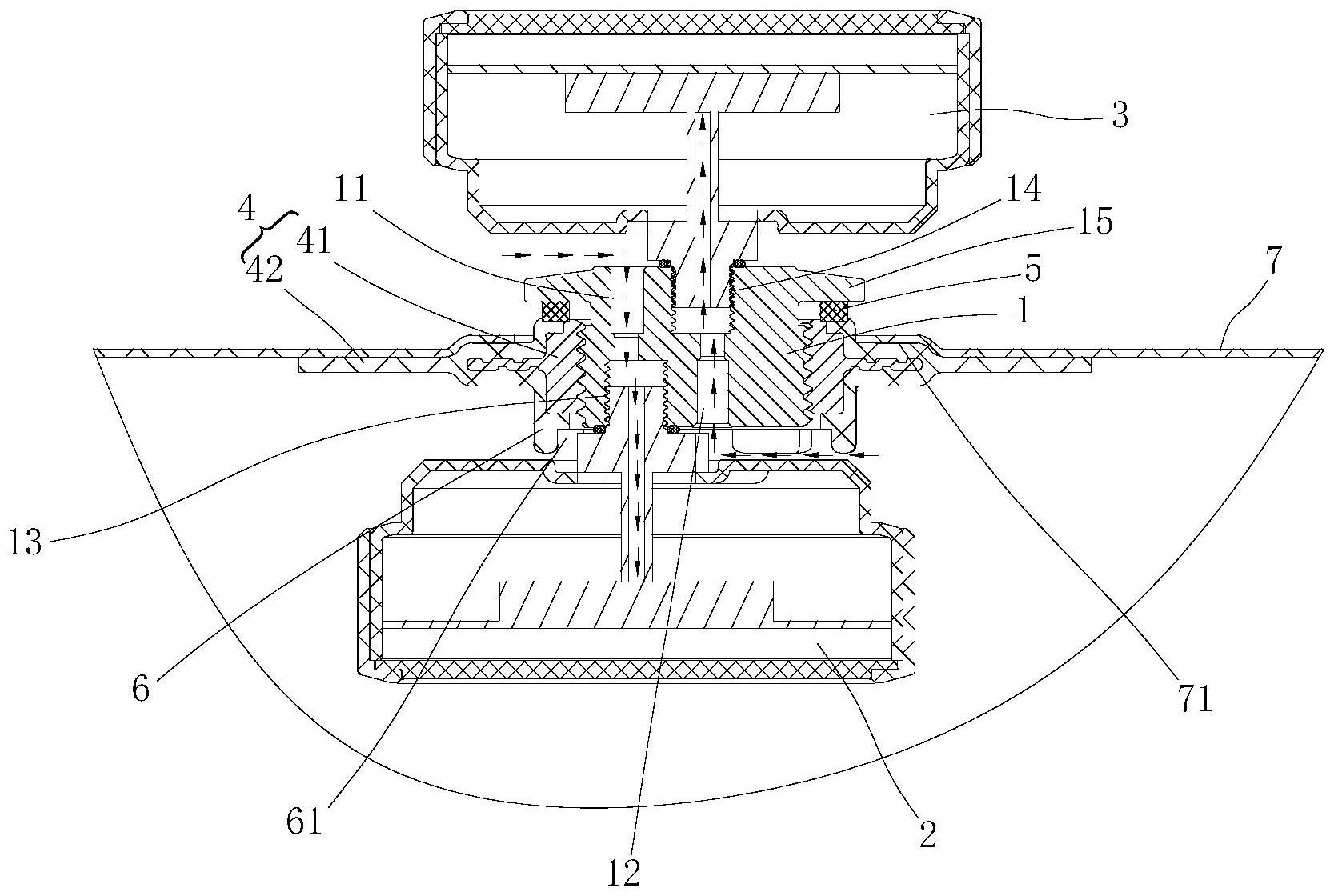
本申请公开了一种氧舱,包括舱体,舱体开设有出入口以及安装口,安装口上安装有压力监测装置,压力监测装置包括安装座、第一压力指示件以及第二压力指示件,第一压力指示件设置于安装座的一端,第二压力指示件设置于安装座的另一端,第一压力指示件连通舱体外部,第二压力指示件连通舱体内部,本申请实现一个安装结构同时安装固定第一压力指示件和第二压力指示件,第一压力指示件和第二压力指示件能够同时显示舱内压力,以使氧舱内外的人员均能够实时监测舱内的压力,且实现了集成式设计,大大节省了占用空间,在氧舱也只需开设一个安装口,简化了安装结构,减少了开口数量,提高美观的同时方便安装。


