授权公布号:CN109731194B
一种具有使雾化药液自滴结构的雾化杯
有效
申请
2019-03-25
申请公布
2019-05-10
授权
2023-09-29
预估到期
2039-03-25
| 申请号 | CN201910226988.6 |
| 申请日 | 2019-03-25 |
| 申请公布号 | CN109731194A |
| 申请公布日 | 2019-05-10 |
| 授权公布号 | CN109731194B |
| 授权公告日 | 2023-09-29 |
| 分类号 | A61M11/00 |
| 分类 | 医学或兽医学;卫生学; |
| 申请人名称 | 江苏鱼跃医疗设备股份有限公司 |
| 申请人地址 | 江苏省镇江市丹阳市云阳工业园 |
专利法律状态
2023-09-29
授权
状态信息
授权
2019-06-04
实质审查的生效
状态信息
实质审查的生效;IPC(主分类):A61M11/00;申请日:20190325
2019-05-10
公布
状态信息
公布
摘要
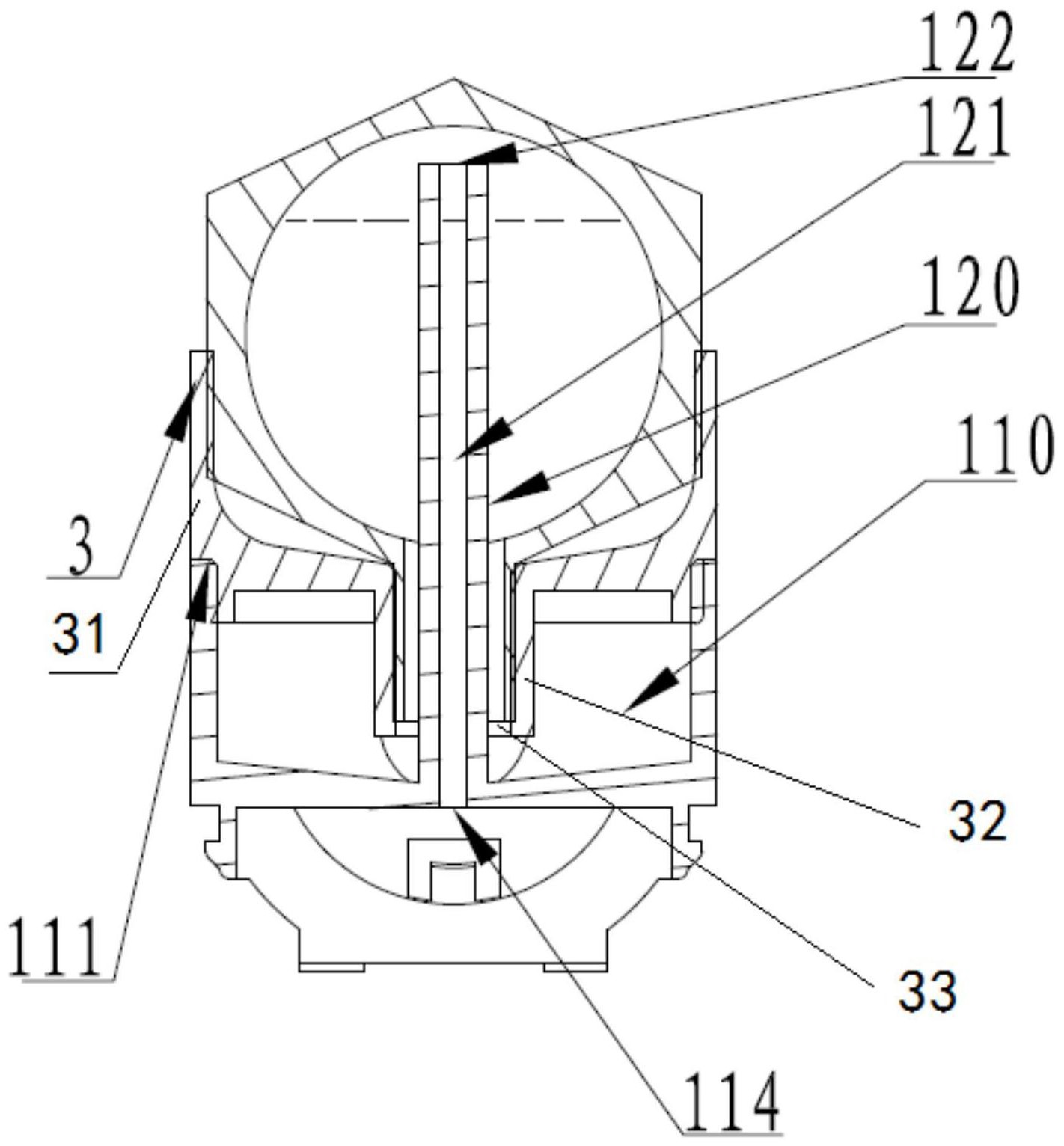
本发明公开了一种具有使雾化药液自滴结构的雾化杯,所述雾化杯包括药杯本体和自滴结构,药杯本体包括容置槽和与容置槽相连通的喷雾口,容置槽用于盛放药液;所述自滴结构凸出设置在容置槽,自滴结构设为中空结构,其空心内腔通过容置槽底部的通孔与外界大气相通,自滴结构的顶端可插入待使用的倒置药液盒内且要高于药液盒内的药液面。本发明雾化杯具有使药液自滴的结构,通过使药盒内外空气压力平衡,药液因为自重自动流出,免去了以往药液挤入雾化杯的操作,不仅丰富了雾化杯的功能,同时减少了用户频繁的挤压操作,使雾化药的使用更加方便、省力。


