授权公布号:CN109986930B
一种便于拆卸维修的纯电动客车用水暖加热器
有效
申请
2019-05-07
申请公布
2019-07-09
授权
2024-02-02
预估到期
2039-05-07
| 申请号 | CN201910376234.9 |
| 申请日 | 2019-05-07 |
| 申请公布号 | CN109986930A |
| 申请公布日 | 2019-07-09 |
| 授权公布号 | CN109986930B |
| 授权公告日 | 2024-02-02 |
| 分类号 | B60H1/22;B60H1/00 |
| 分类 | 一般车辆; |
| 申请人名称 | 安徽安凯汽车股份有限公司 |
| 申请人地址 | 安徽省合肥市花园大道23号 |
专利法律状态
2024-02-02
授权
状态信息
授权
2019-07-09
公布
状态信息
公布
摘要
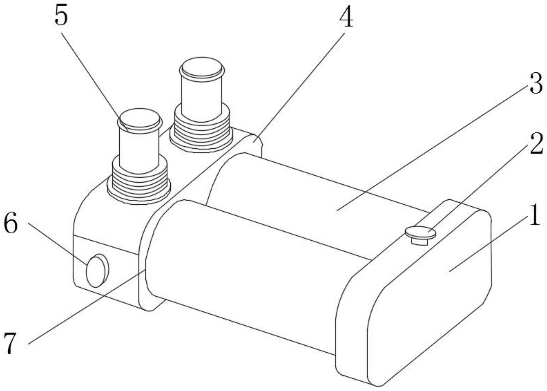
本发明公开了一种便于拆卸维修的纯电动客车用水暖加热器,包括安装座、加热管和支撑座,所述支撑座的顶面上并排设有两个管道接头,支撑座一侧的侧壁上设有开设有两个管道孔,按下按钮,使得连接杆推动挡板向支撑座内侧移动,复位弹簧产生压缩,同时转轴向管道孔的方向移动,由于限位块支撑,使得两个卡块分别向两侧移动,拉紧弹簧伸张,卡块的另一端移出加热管上的卡槽内部,抽出加热管完成拆卸,不需要传统的螺纹连接固定,再转动转盘,使得转盘驱动螺杆转动,转动螺杆时,由于螺杆与两个压紧块上的螺母均通过螺纹连接,且螺纹连接方向相反,使得两个压紧块发生背向移动,实现加热管的松开工作,完成加热管与安装座的分离,便于拆卸维修。


