授权公布号:CN109659635B
一种温度显示装置
有效
申请
2019-01-21
申请公布
2019-04-19
授权
2023-11-03
预估到期
2039-01-21
| 申请号 | CN201910055062.5 |
| 申请日 | 2019-01-21 |
| 申请公布号 | CN109659635A |
| 申请公布日 | 2019-04-19 |
| 授权公布号 | CN109659635B |
| 授权公告日 | 2023-11-03 |
| 分类号 | H01M10/42;G01K1/02;G01K5/52 |
| 分类 | 基本电气元件; |
| 申请人名称 | 安徽安凯汽车股份有限公司 |
| 申请人地址 | 安徽省合肥市花园大道99号 |
专利法律状态
2023-11-03
授权
状态信息
授权
2019-05-14
实质审查的生效
状态信息
实质审查的生效;IPC(主分类):H01M10/42;申请日:20190121
2019-04-19
公布
状态信息
公布
摘要
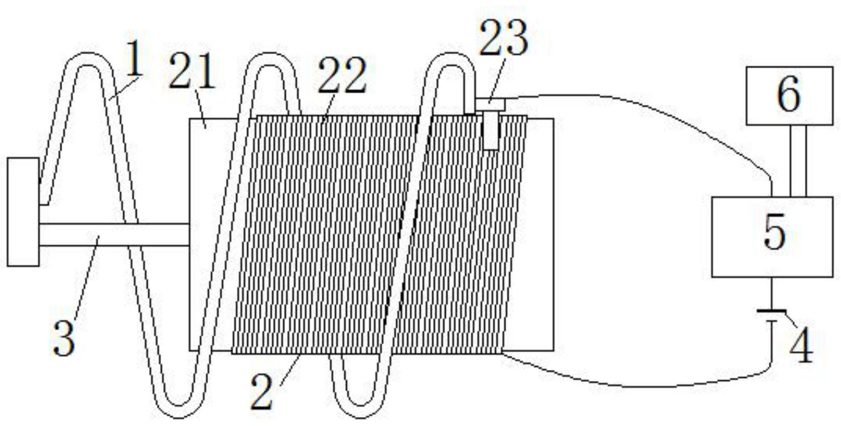
本发明公开了一种温度显示装置,包括热敏弹簧、活动变阻器、固定底座、电源、信号变换器和显示器,所述热敏弹簧为螺旋结构,且所述热敏弹簧内部设置有空腔,所述活动变阻器套接在热敏弹簧的空腔内。本发明的有益效果是:本发明的热敏弹簧在不同温度下会有不同的伸缩长度,会带动活片在活动变阻器上移动,活动变阻器的电阻就会发生改变,导致活动变阻器、电源和信号变换器组成的回路的电流就会发生改变,电流信号经过信号变换器转换为温度信号后,在显示器上显示出来,本发明对动力电池进行温度探测、传输和显示温度信息十分准确、精度高,保证工作人员对动力电池的使用温度进行更好、及时的控制;本发明具有良好的社会效益,适合推广使用。


