授权公布号:CN114323702B
一种整车道路模拟装置
有效
申请
2021-09-14
申请公布
2022-04-12
授权
2023-12-19
预估到期
2041-09-14
| 申请号 | CN202111073984.2 |
| 申请日 | 2021-09-14 |
| 申请公布号 | CN114323702A |
| 申请公布日 | 2022-04-12 |
| 授权公布号 | CN114323702B |
| 授权公告日 | 2023-12-19 |
| 分类号 | G01M17/06;G01M17/007 |
| 分类 | 测量;测试; |
| 申请人名称 | 安徽安凯汽车股份有限公司 |
| 申请人地址 | 安徽省合肥市包河区花园大道23号 |
专利法律状态
2023-12-19
授权
状态信息
授权
2022-04-29
实质审查的生效
状态信息
实质审查的生效;IPC(主分类):G01M17/06;申请日:20210914
2022-04-12
公布
状态信息
公布
摘要
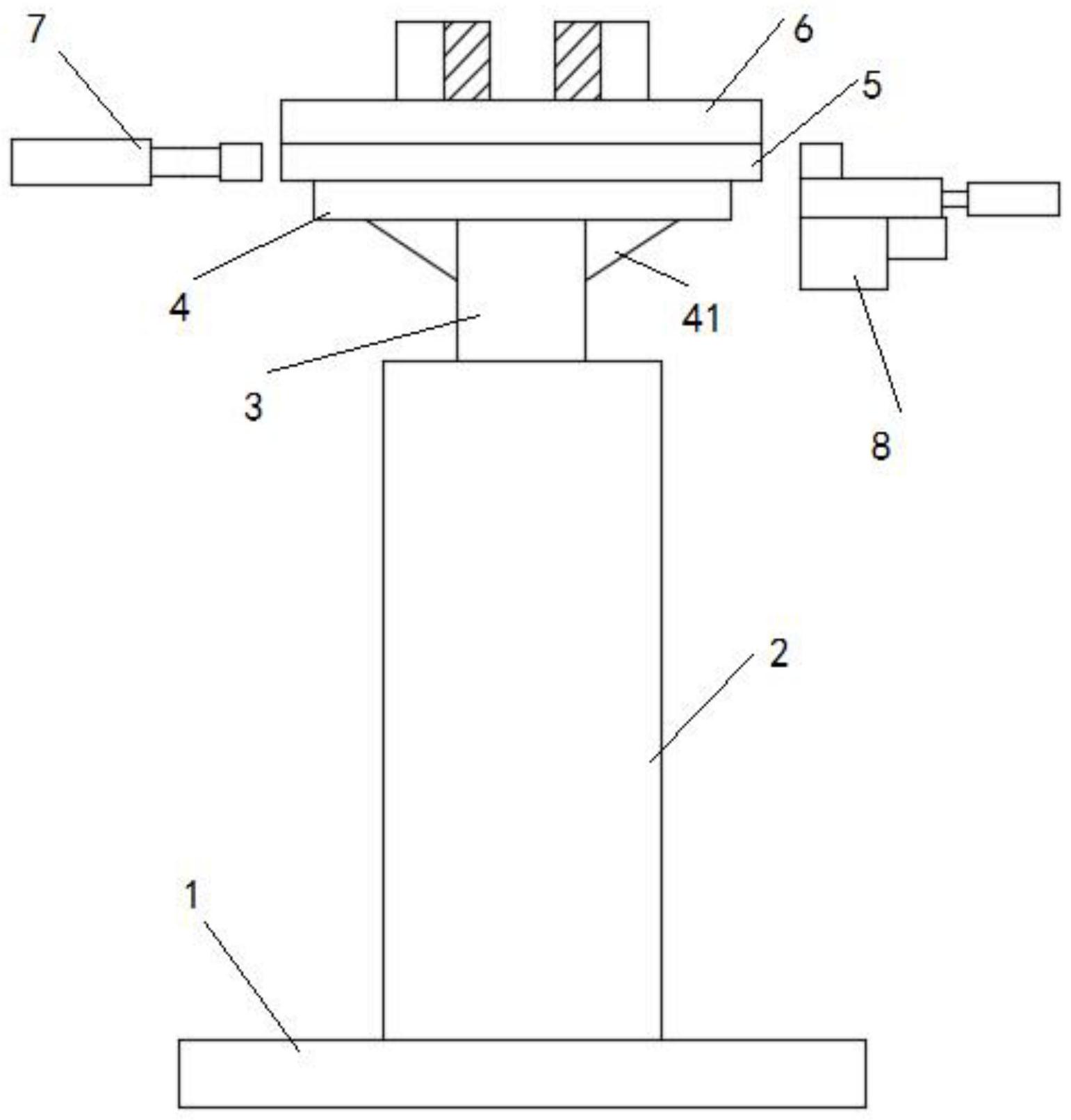
本发明公开了一种整车道路模拟装置,该装置包括四个对应车轮位置设置的支撑装置,支撑装置包括作动器,作动器的驱动活塞杆上固定安装有中间板,中间板上固定安装有回转支撑轴承,回转支撑轴承上固定安装有承接板;回转支撑轴承的外圈上设置有一圈轮齿,回转支撑轴承的侧边设置有转动驱动装置与制动装置,本发明通过设置可转动的承接板,在工作时能够模拟车辆在颠簸路况下转弯时的整车承载状况,从而提升模拟装置的模拟效果。本发明通过设置制动装置,对承接板进行制动,在承接板转动到预设位置时,对承接板的位置进行固定,能够提升参与制动的轮齿数量,降低制动过程对轮齿的损伤,使装置能够长时间有效的使用。


