授权公布号:CN108482047B
客车前桥板簧定位卡具
有效
申请
2018-05-04
申请公布
2018-09-04
授权
2023-10-27
预估到期
2038-05-04
| 申请号 | CN201810420911.8 |
| 申请日 | 2018-05-04 |
| 申请公布号 | CN108482047A |
| 申请公布日 | 2018-09-04 |
| 授权公布号 | CN108482047B |
| 授权公告日 | 2023-10-27 |
| 分类号 | B60G11/10 |
| 分类 | 一般车辆; |
| 申请人名称 | 安徽安凯汽车股份有限公司 |
| 申请人地址 | 安徽省合肥市花园大道23号 |
专利法律状态
2023-10-27
授权
状态信息
授权
2018-09-28
实质审查的生效
状态信息
实质审查的生效;IPC(主分类):B60G11/10;申请日:20180504
2018-09-04
公布
状态信息
公布
摘要
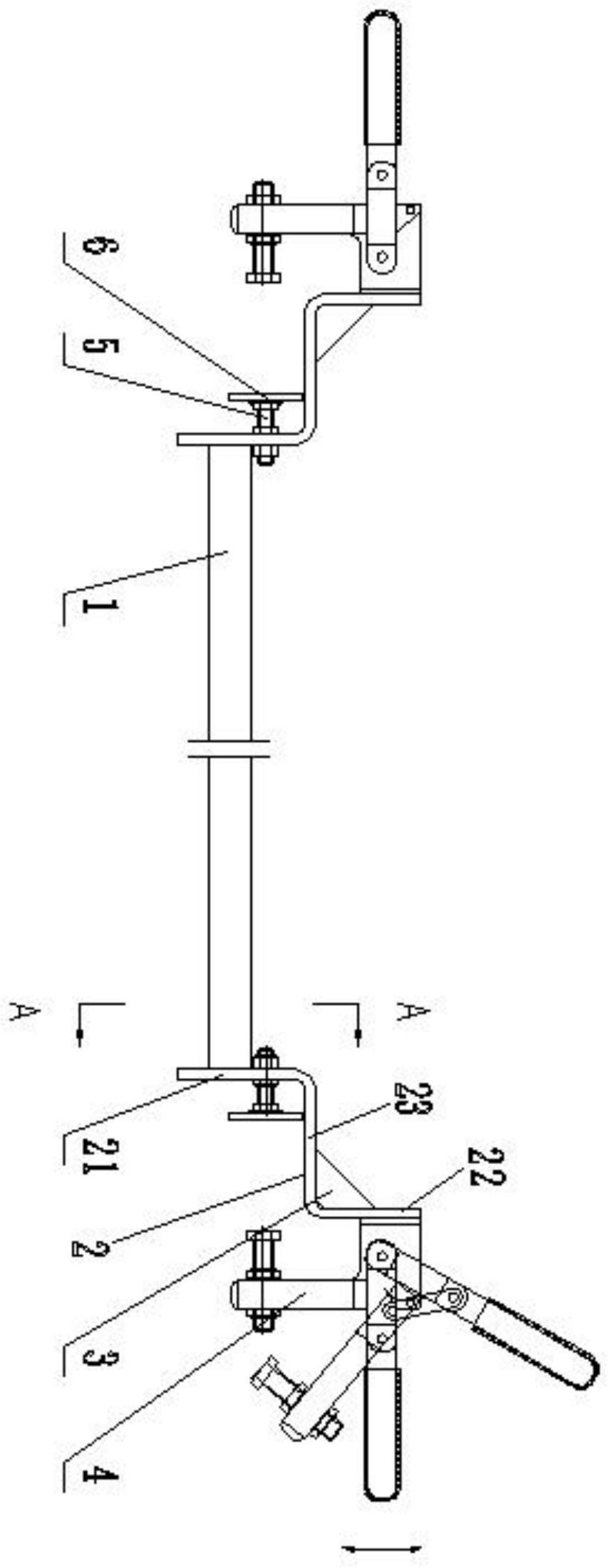
本发明公开一种客车前桥板簧定位卡具,包括横梁、夹具定位件、加强筋、快速夹、调节螺栓、定位板;横梁为一矩形管;夹具定位件呈Z型形状;两个夹具定位件的第一竖直边相向设置,横梁的两端分别与上述两个夹具定位件的第一竖直边连接;第一竖直边上开设有两个相对的螺孔,该螺孔位于横梁与第一竖直边连接处的上方;两个螺孔内均设有一调节螺栓,调节螺栓的螺帽端朝向外侧并焊接有定位板,调节螺栓另一端适配有调节螺母;夹具定位件的连接边与第二竖直边之间设有加强筋;第二竖直边的外侧螺栓连接有快速夹。本发明通过调节螺栓调节,可以适用不同间距定位,卡具通过一面靠紧板簧吊耳支架,另一面通过快速夹夹紧,定位吊耳支架安装。


