授权公布号:CN114056084B
一种氢燃料客车的氢气瓶放置结构
有效
申请
2021-11-25
申请公布
2022-02-18
授权
2024-03-12
预估到期
2041-11-25
| 申请号 | CN202111413603.0 |
| 申请日 | 2021-11-25 |
| 申请公布号 | CN114056084A |
| 申请公布日 | 2022-02-18 |
| 授权公布号 | CN114056084B |
| 授权公告日 | 2024-03-12 |
| 分类号 | B60K15/07 |
| 分类 | 一般车辆; |
| 申请人名称 | 安徽安凯汽车股份有限公司 |
| 申请人地址 | 安徽省合肥市包河区花园大道23号 |
专利法律状态
2024-03-12
授权
状态信息
授权
2022-03-08
实质审查的生效
状态信息
实质审查的生效;IPC(主分类):B60K15/07;申请日:20211125
2022-02-18
公布
状态信息
公布
摘要
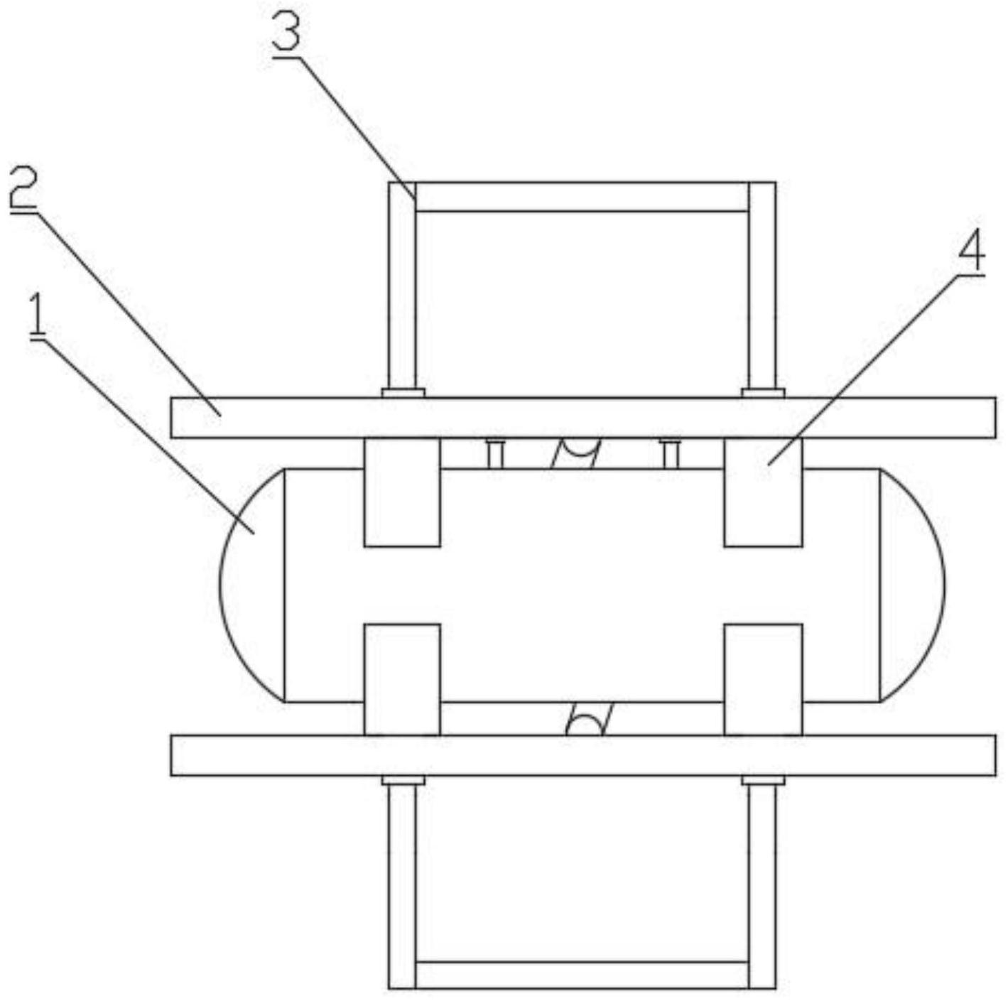
本发明公开了一种氢燃料客车的氢气瓶放置结构,包括氢气罐和放置机构,放置机构的固定夹持机构和定位支撑机构均安装在底座上;固定夹持机构的两组移动杆沿着底座相向运动,且移动杆上设置有夹持件;定位支撑机构的支撑座的中部设置有定位槽,氢气罐的外壁上设置有定位板,定位板与支撑座的定位槽相适配,固定夹持机构的中心板固定安装在底座上,中心板的顶面与旋转杆的中部转动连接,旋转杆的两端分别与活动杆活动连接,活动杆远离旋转杆的一端与移动杆连接,中心板的一侧设置有气缸,气缸的输出端与移动杆;本发明具有安装简单,使用方便的优点,只需要将其放置在预设的位置上,再启动气缸便可实现对氢气罐的固定。


