授权公布号:CN107516983B
一种电机定子铁心总成浸漆工装
有效
申请
2017-10-17
申请公布
2017-12-26
授权
2024-02-02
预估到期
2037-10-17
| 申请号 | CN201710961704.9 |
| 申请日 | 2017-10-17 |
| 申请公布号 | CN107516983A |
| 申请公布日 | 2017-12-26 |
| 授权公布号 | CN107516983B |
| 授权公告日 | 2024-02-02 |
| 分类号 | H02K15/12 |
| 分类 | 发电、变电或配电; |
| 申请人名称 | 安徽安凯汽车股份有限公司 |
| 申请人地址 | 安徽省合肥市花园大道99号 |
专利法律状态
2024-02-02
授权
状态信息
授权
2017-12-26
公布
状态信息
公布
摘要
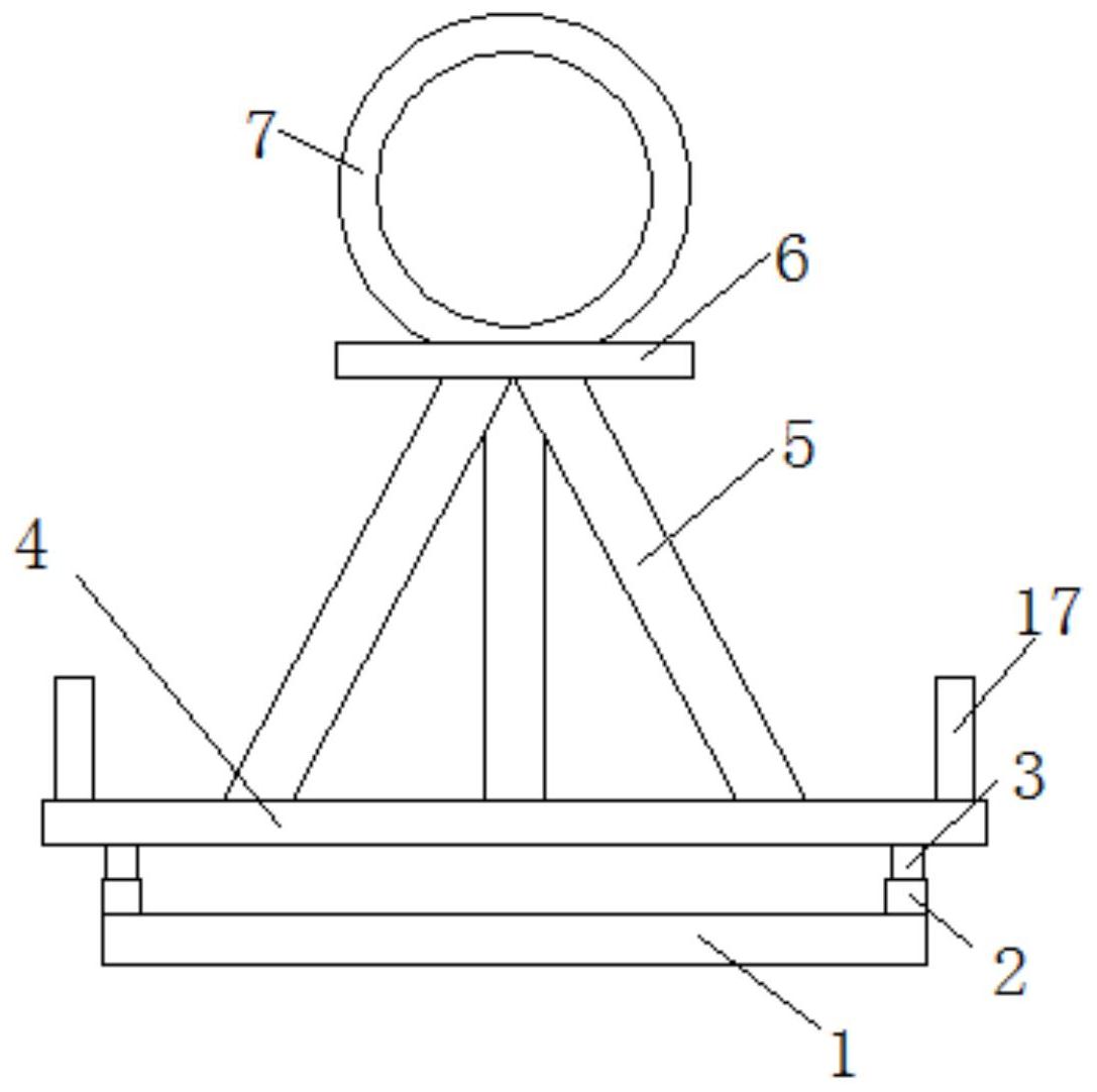
本发明公开了一种电机定子铁心总成浸漆工装,包括底座,所述底座的顶侧对称焊接有两个第一层间钢板,两个第一层间钢板的顶侧均滑动连接有第二层间钢板,两个第二层间钢板的顶端焊接有同一个电机定子支撑板,所述电机定子支撑板为中空结构。本发明为焊接结构,结构稳定可靠,在电机定子支撑板外围焊接有限位钢板,限位钢板可用于限定定子铁心位置,同时防止定子铁心侧倾,稳定性高,通过层间钢板和底座之间的间隙距离,保证了绕组线圈的外形不受力不变形,产品稳定性好,当将电机定子铁心总成放在电机定子支撑板上时具有缓冲效果,能够对电机定子铁心进行保护,增加电机定子铁心总成的使用寿命,满足用户的使用需求。


