授权公布号:CN109262510B
一种发动机配件装配工装
有效
申请
2018-11-15
申请公布
2019-01-25
授权
2023-11-28
预估到期
2038-11-15
| 申请号 | CN201811359364.3 |
| 申请日 | 2018-11-15 |
| 申请公布号 | CN109262510A |
| 申请公布日 | 2019-01-25 |
| 授权公布号 | CN109262510B |
| 授权公告日 | 2023-11-28 |
| 分类号 | B25B11/02 |
| 分类 | 手动工具;轻便机动工具;手动器械的手柄;车间设备;机械手; |
| 申请人名称 | 安徽安凯汽车股份有限公司 |
| 申请人地址 | 安徽省合肥市花园大道23号 |
专利法律状态
2023-11-28
授权
状态信息
授权
2019-02-26
实质审查的生效
状态信息
实质审查的生效;IPC(主分类):B25B11/02;申请日:20181115
2019-01-25
公布
状态信息
公布
摘要
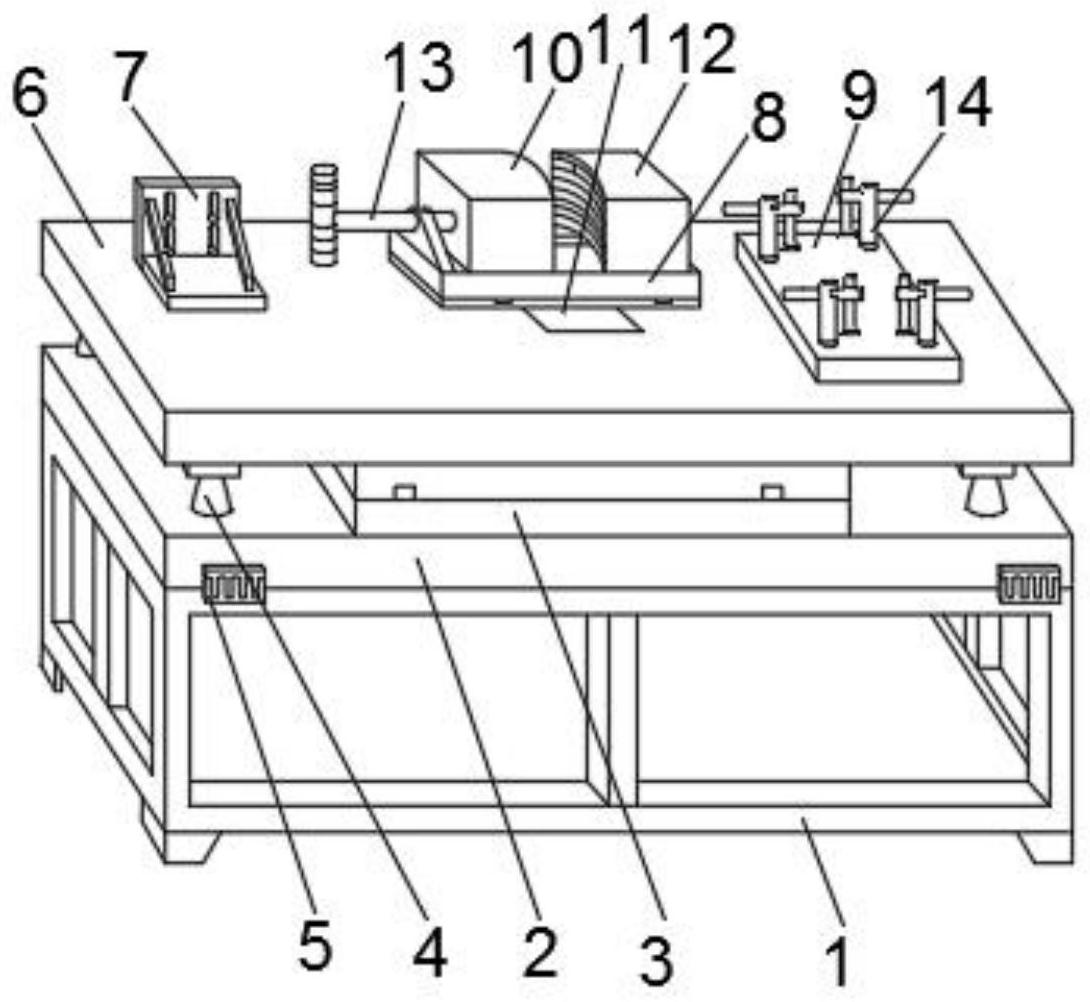
本发明公开一种发动机配件装配工装,包括支撑架,所述支撑架的上表面设置有衔接台面,且支撑架的上表面安装有偏移台架和支撑组件,所述支撑组件设置有四组,所述偏移台架位于相邻两组支撑组件之间,所述支撑架和衔接台面的衔接处前表面和后表面均设置有两组咬合组件,所述偏移台架的上表面设置有装配台面,所述装配台面的上表面设置有悬挂架和焊接组件,所述装配台面的上表面内侧嵌入安装有方向调节组件;本发明一种发动机配件装配工装能够便于将支撑架和衔接台面进行安装和拆卸,增加衔接台面安装后的稳定性,并能对夹紧组件的使用位置进行灵活调整,且能够对装配台面的倾斜度进行调节,以满足不同的装配条件。


