授权公布号:CN219133971U
一种宿营旅居车用可移动式发电机
有效
申请
2023-02-16
申请公布
1970-01-01
授权
2023-06-06
预估到期
2033-02-16
| 申请号 | CN202320282175.0 |
| 申请日 | 2023-02-16 |
| 授权公布号 | CN219133971U |
| 授权公告日 | 2023-06-06 |
| 分类号 | B60P3/36;B60R16/03 |
| 分类 | 一般车辆; |
| 申请人名称 | 安徽安凯汽车股份有限公司 |
| 申请人地址 | 安徽省合肥市包河区花园大道23号 |
专利法律状态
2023-06-06
授权
状态信息
授权
摘要
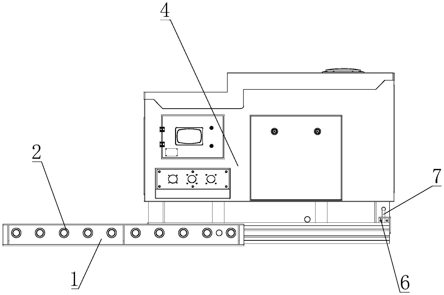
本实用新型公开了一种宿营旅居车用可移动式发电机,包括安装在宿营旅居车车架上的两组车体滑轨,所述车体滑轨可在宿营旅居车车架上滑动;所述车体滑轨上固定设置有多组支撑轴,支撑轴上转动安装有支撑滚轮;发电机组包括发电机箱,所述发电机箱内安装有发电机本体;所述发电机箱外侧下部固定设置有与所述支撑滚轮相配合的发电机导轨;所述发电机箱上安装有用于控制其升降和移动的驱动组件;本实用新型发电机组活动安装在宿营车上,可以为宿营车提供电力动力,同时可以根据需要从宿营车上卸下,为车外的活动需求提供电源动力支持,根据实际需求灵活多变,使用方便。


