授权公布号:CN213940164U
一种用于警车的置物架
有效
申请
2020-06-08
申请公布
1970-01-01
授权
2021-08-13
预估到期
2030-06-08
| 申请号 | CN202021031559.8 |
| 申请日 | 2020-06-08 |
| 授权公布号 | CN213940164U |
| 授权公告日 | 2021-08-13 |
| 分类号 | A47B81/00;A47B88/40;A47B97/00 |
| 分类 | 家具;家庭用的物品或设备;咖啡磨;香料磨;一般吸尘器; |
| 申请人名称 | 牡丹汽车股份有限公司 |
| 申请人地址 | 江苏省苏州市张家港市乐余镇乐红路30号 |
专利法律状态
2021-08-13
授权
状态信息
授权
摘要
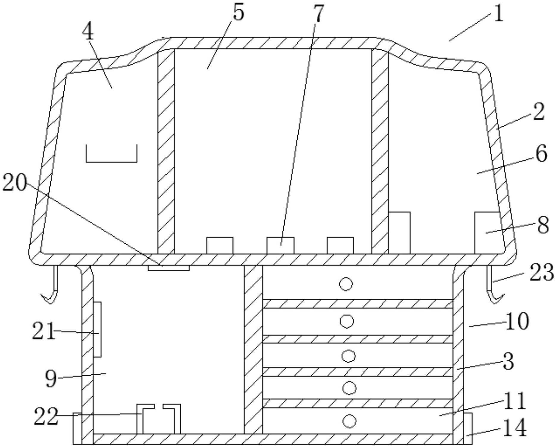
本实用新型公开了一种用于警车的置物架,包括本体,本体主要由板材制成为至少一面敞开的六面腔体,本体分为上层和下层,上层与下层之间设置有梯度,上层通过隔板依次分隔成医疗室、警棍室和盾牌室,医疗室密封设置并且设置有把手,警棍室内设置有多个用于放置警棍的固定孔,盾牌室内设置有放置架用于固定盾牌;下层通过隔板分为杂物室和枪械室,枪械室设置有多个抽屉,每个抽屉均设置有凹槽;本体通过第一轨道固定在车上,第一轨道上设置有用于固定本体位置的锁紧机构。本实用新型结构简单,使得人民警察在出警的过程中方便快捷的配备和使用警务用品,并且可以调节装备架的位置,极大的提高了公安民警的办事效率和工作需求。


