授权公布号:CN213323388U
一种用于拖拉机的悬弧式操作系统
有效
申请
2020-10-26
申请公布
1970-01-01
授权
2021-06-01
预估到期
2030-10-26
| 申请号 | CN202022396203.0 |
| 申请日 | 2020-10-26 |
| 授权公布号 | CN213323388U |
| 授权公告日 | 2021-06-01 |
| 分类号 | B62D33/10 |
| 分类 | 无轨陆用车辆; |
| 申请人名称 | 牡丹汽车股份有限公司 |
| 申请人地址 | 江苏省苏州市张家港市乐余镇乐红路30号 |
专利法律状态
2021-06-01
授权
状态信息
授权
摘要
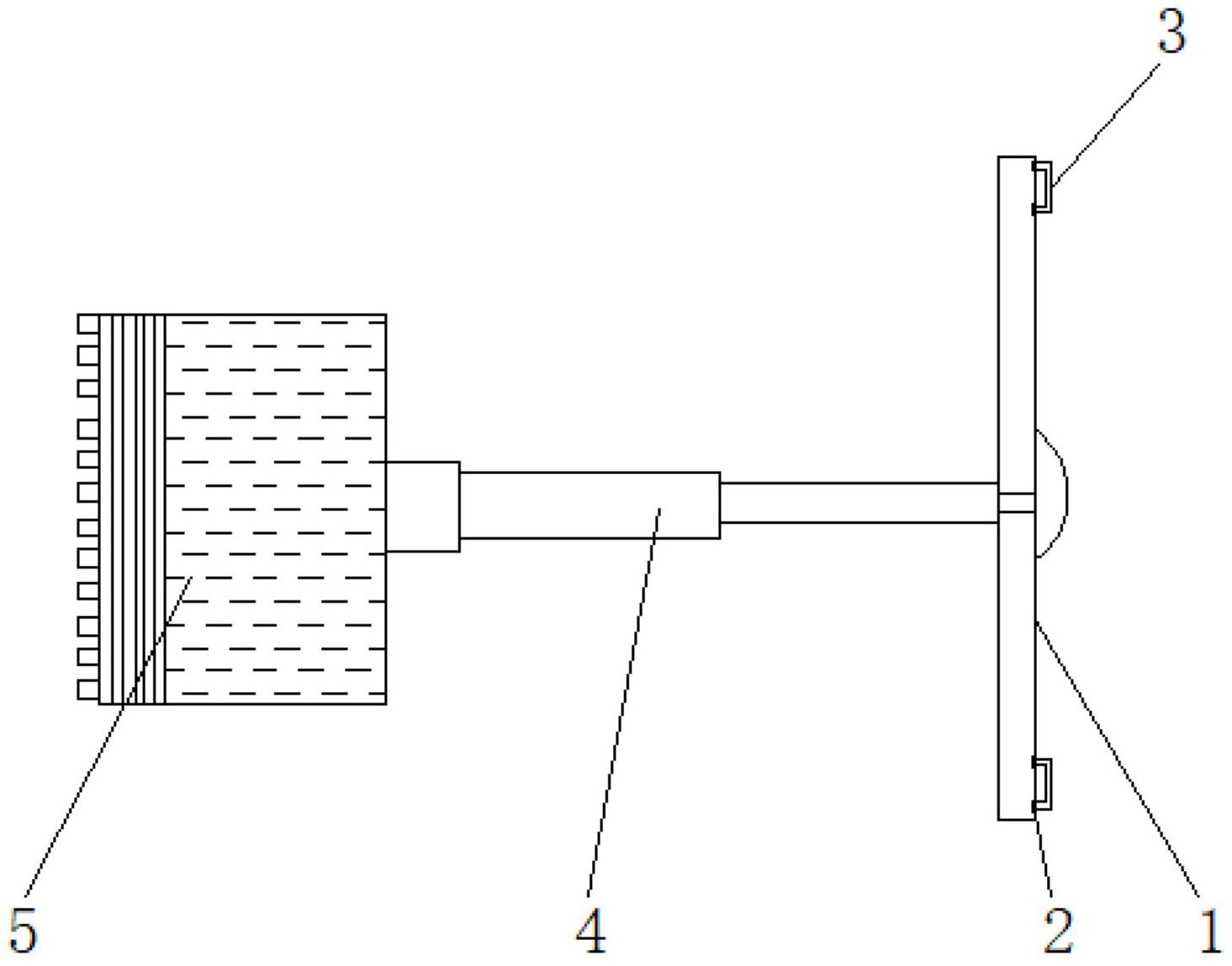
本实用新型公开了一种用于拖拉机的悬弧式操作系统,包括悬弧式操作柄主体,所述悬弧式操作柄主体的下端外表面设置有下防滑块,所述悬弧式操作柄主体的上端外表面设置有上防滑块,所述悬弧式操作柄主体的一侧外表面设置有电动伸缩机构,所述电动伸缩机构包括下伸缩杆、上伸缩杆、连接导线与控制按钮,所述电动伸缩机构的一侧外表面设置有减震连接盘。本实用新型所述的一种用于拖拉机的悬弧式操作系统,通过设计的电动伸缩机构,能使装置的操作更方便,便于控制操作柄的伸缩,通过设计的减震连接盘,能减少操作柄在工作过程中产生的震动,提升装置的整体稳定性,带来更好的使用前景。


