授权公布号:CN219625518U
一种观光车速度检测装置
有效
申请
2023-04-18
申请公布
1970-01-01
授权
2023-09-01
预估到期
2033-04-18
| 申请号 | CN202320858627.5 |
| 申请日 | 2023-04-18 |
| 授权公布号 | CN219625518U |
| 授权公告日 | 2023-09-01 |
| 分类号 | G01P3/00;G01P1/00 |
| 分类 | 测量;测试; |
| 申请人名称 | 苏州益高电动车辆制造有限公司 |
| 申请人地址 | 江苏省苏州市工业园区新庆东路8号 |
专利法律状态
2023-09-01
授权
状态信息
授权
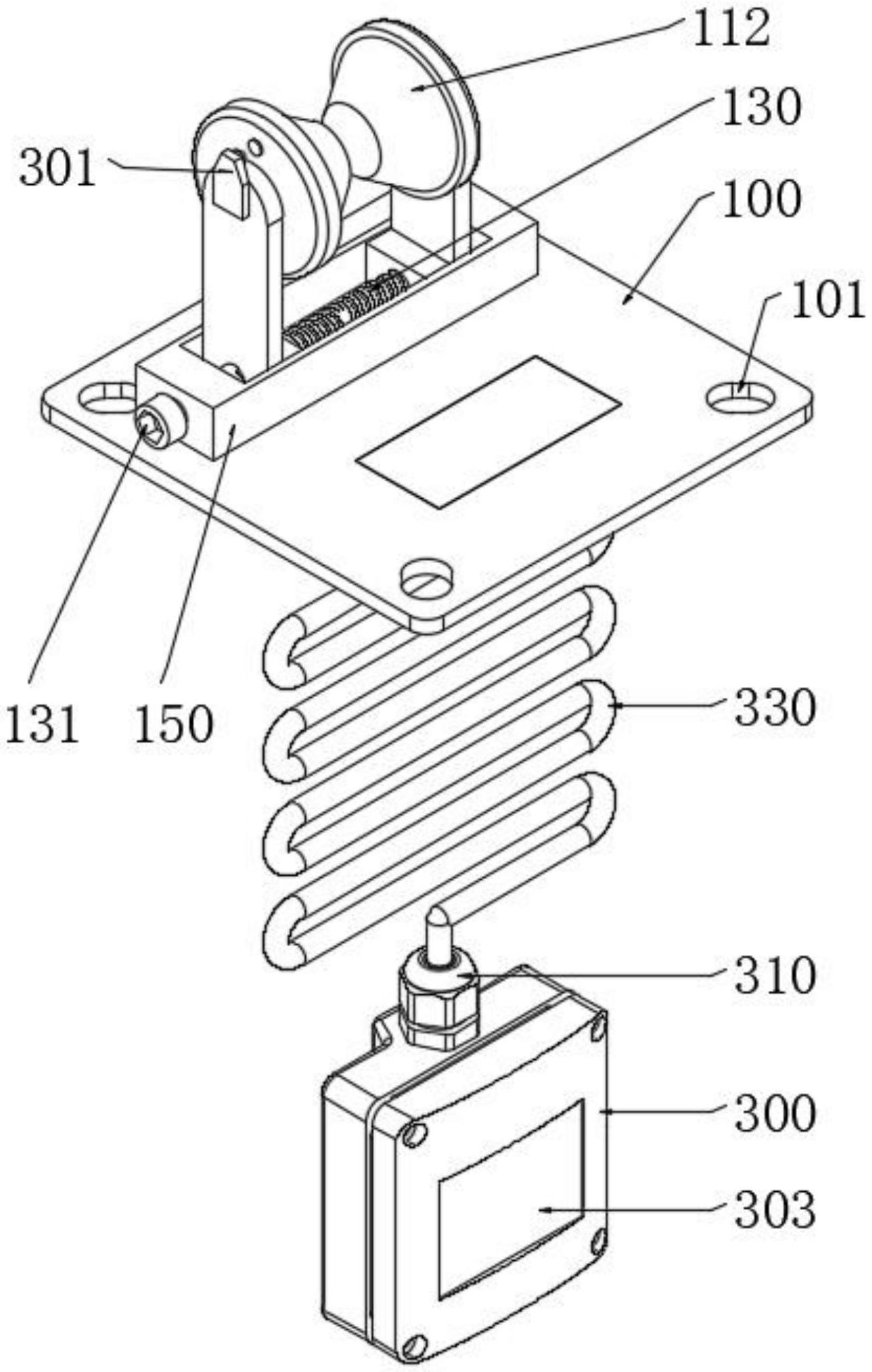
摘要
本申请提供了一种观光车速度检测装置,属于观光车技术领域。该观光车速度检测装置,包括支撑架和码表;所述支撑架转动安装有滑轮;所述码表表面嵌装有显示器,所述码表电性连接有感应器,所述感应器安装在所述滑轮一侧;通过将支撑架与缆车固定,由于支撑架转动安装有滑轮,且在使用时滑轮滚动套设在缆绳表面,当缆车在缆绳上滑移运动时带动滑轮转动,滑轮旋转时感应器捕捉到感应磁铁带来的信息,通过螺旋电线传输至码表,码表对此进行处理后计算出时速、里程信息,并通过码表表面嵌装的显示器显现出来,供人员读取,便于观光车速度检测,并且实时观看行驶速度。


