授权公布号:CN210116431U
一种带有隐藏式升降桌的房车
有效
申请
2019-06-24
申请公布
1970-01-01
授权
2020-02-28
预估到期
2029-06-24
| 申请号 | CN201920953414.4 |
| 申请日 | 2019-06-24 |
| 授权公布号 | CN210116431U |
| 授权公告日 | 2020-02-28 |
| 分类号 | B60P3/363;B60N3/00 |
| 分类 | 一般车辆; |
| 申请人名称 | 青岛春田科技车辆有限公司 |
| 申请人地址 | 山东省青岛市黄岛区清水河路567号 |
专利法律状态
2020-02-28
授权
状态信息
授权
摘要
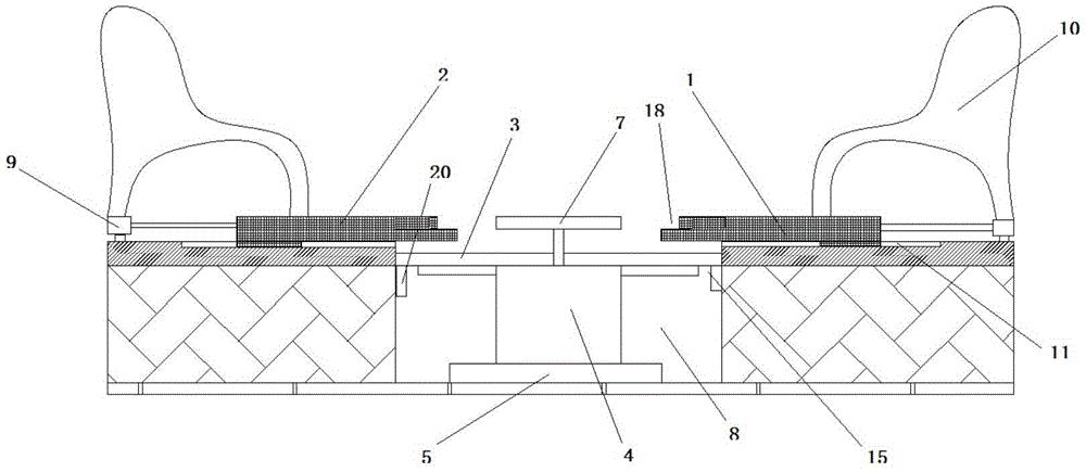
本实用新型公开了一种带有隐藏式升降桌的房车,属于房车技术领域,包括升降桌、以及房车地板下设置的可供升降桌收藏的收纳仓,所述的升降桌包括桌面板、升降机构、底板,所述的升降机构的顶端与桌面板底部固定连接,所述的升降机构的底端与底板的上表面固定连接,所述的底板的下表面与收纳仓的底部上表面固定连接,所述的收纳仓上端设有可供升降桌伸缩通过的开口。本新型可以通过隐藏升降桌的方式增加房车内的活动空间,增强舒适体验。


