授权公布号:CN213056775U
电动汽车多合一控制器的外壳箱体
有效
申请
2020-08-25
申请公布
1970-01-01
授权
2021-04-27
预估到期
2030-08-25
| 申请号 | CN202021794477.9 |
| 申请日 | 2020-08-25 |
| 授权公布号 | CN213056775U |
| 授权公告日 | 2021-04-27 |
| 分类号 | B60L58/10 |
| 分类 | 一般车辆; |
| 申请人名称 | 南京南汽专用车有限公司 |
| 申请人地址 | 江苏省南京市江宁开发区天元西路68号 |
专利法律状态
2021-04-27
授权
状态信息
授权
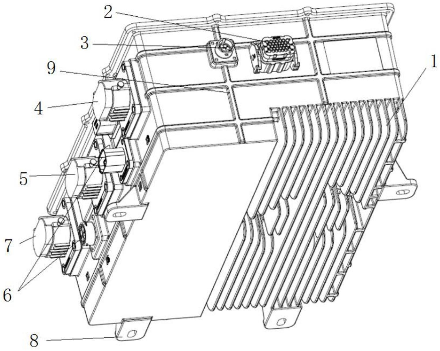
摘要
本实用新型公开了一种电动汽车多合一控制器的外壳箱体,其包括下箱体,所述下箱体上形成有容置空间;所述下箱体的底部形成有散热翅片,所述散热翅片为多个,并且沿所述下箱体的长度方向设置;所述下箱体的侧壁上开设有多个孔;所述下箱体的内部形成有多个第一支撑柱、第二支撑柱和第三支撑柱。本实用新型的电动汽车多合一控制器的外壳箱体,将散热翅片、侧面输入输出接口与箱体集成在一起,减少螺栓连接,能大大提高箱体本身的防尘防水能力;在安装元器件时,分区域安装,将大功率元器件安装于散热翅片对应的位置,能有效提高箱体的散热能力,与底部整体布置散热翅片的方案相比,能够降低成本。


