授权公布号:CN212444723U
一种内孔塞规及磨头组件
有效
申请
2020-05-27
申请公布
1970-01-01
授权
2021-02-02
预估到期
2030-05-27
| 申请号 | CN202020918645.4 |
| 申请日 | 2020-05-27 |
| 授权公布号 | CN212444723U |
| 授权公告日 | 2021-02-02 |
| 分类号 | B24B33/08 |
| 分类 | 磨削;抛光; |
| 申请人名称 | 湖南鑫源缸套有限责任公司 |
| 申请人地址 | 湖南省常德市津市市三洲驿办事处蔡家河社区 |
专利法律状态
2021-02-02
授权
状态信息
授权
摘要
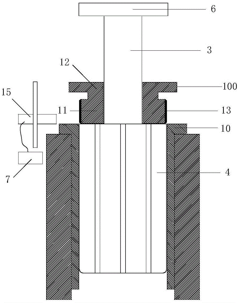
本申请提供一种内孔塞规及磨头组件,磨头组件包括:油缸、连杆、磨头、接近开关以及内孔塞规,内孔塞规包括:设有内孔的圆柱形本体,圆柱形本体包括塞规前端部和塞规后端部,塞规后端部的外径大于塞规前端部的外径,塞规前端部外径与气缸套工件的标准内径一致。珩磨开始前,内孔塞规停留在气缸套工件上表面。随着珩磨的进行,气缸套工件的内孔逐渐增大,塞规前端部首先进入气缸套工件内孔中,当气缸套工件内孔达到标准内径时,塞规后端部下落,接近开关接通,油缸停止供能,珩磨结束。本申请以内孔塞规的外径作为气缸套工件内孔加工的统一标准,能够规避前序工艺带来的偏差,通过内孔塞规控制珩磨结束时间,可以保证气缸套产品内孔尺寸的一致性。


